รายงานข่าวเผยข้อมูลล่าสุดจากทางสำนักงานสิทธิบัตรและเครื่องหมายการค้าในสหรัฐอเมริกา พบข้อมูลที่คาดว่า Apple อาจมีการใช้วัสดุโลหะผสม Liquidmetal มาใช้กับปุ่ม Home บน iPhone และ iPad
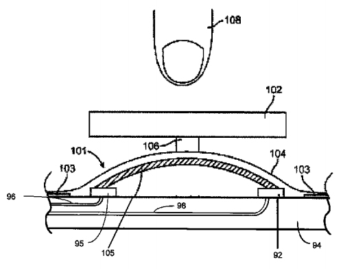
แม้ว่าก่อนหน้านี้จะมีข่าวลือเกี่ยวกับการใช้โลหะผสม Liquidmetal ได้มีมาให้เห็นกันบ้างแล้ว แต่ข้อมูลที่ได้พบในครั้งนี้จะเป็นการเพิ่มความกระจ่างและอธิบายถึงความเป็นไปได้ในการนำโลหะผสม Liquidmetal มาใช้งานบนปุ่ม Home โดยตัววัสดุ Liquidmetal นั้นจะมีคุณสมบัติที่มีความแข็งแรงสูง ทนต่อการกัดกร่อน มีน้ำหนักเบา และมีความยืดหยุ่นสูง ซึ่งจากคุณสมบัติดังกล่าวเมื่อนำมาเป็นไอเดียในการพัฒนาปุ่ม Home จะทำให้เกิดความยืดหยุ่นสูงในขณะที่มีแรงกดลงไปและสามารถกลับคืนมาอยู่ในรูปแบบเดิมได้หลังจากปล่อยนิ้ว ซึ่งคุณสมบัติดังกล่าวไม่สามารถทำได้โดยใช้วัสดุไทเทเนียมหรือสแตนเลส
นอกจากนี้จากข้อมูลสิทธิบัตรดังกล่าวยังได้แสดงให้เห็นว่าได้มีใช้โลหะผสม Liquidmetal ไว้ในตำแหน่งที่จะช่วยรับแรงกดได้ดีกว่าปุ่ม Home แบบเดิมอีกด้วย อย่างไรก็ตามยังไม่ได้มีการยืนยันข้อมูลออกมาว่าจะมีการนำโลหะผสม Liquidmetal ไปใช้กับ iPhone หรือ iPad ในรุ่นใด แต่คาดว่านี่น่าจะเป็นอีกหนึ่งแนวทางที่ Apple เตรียมไว้สำหรับพัฒนาให้ปุ่ม Home มีประสิทธิภาพในการใช้งานที่ดีขึ้นกว่าเดิมนั่นเอง
ที่มา – macrumors








