ดูเหมือนว่า Apple อาจจะลองทำอะไรใหม่ๆ หลังยื่นจดสิทธิบัตรที่เผยให้เห็นว่า iPhone และ Apple Watch จะมีดีไซน์ที่เป็นกระจกทั้งหมด

Patently Apple ได้พบว่า Apple มีการยื่นจดสิทธิบัตรใหม่โดยใช้ชื่อว่า “Electronic device with glass enclosure” และได้รับอนุมัติโดย United States Patent and Trademark เมื่อวันที่ 18 พฤศจิกายนที่ผ่านมา โดยภายในสิทธิบัตรจะเป็นเหมือน iPhone แต่มีลักษณะเป็นกระจกทั้งหมด รวมถึงมีการแสดงผลรอบตัวเครื่องอีกด้วย

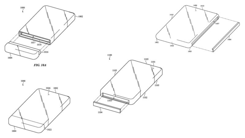
ในสิทธิบัตรสำหรับอุปกรณ์ที่ดูเหมือน iPhone นี้ จะมาพร้อมกับวิธีปิดหน้าจอการสัมผัส และจะมีจอแสดงผลแบบโค้งที่รอบๆ ตัวเครื่อง และยังเป็นหน้าจอระบบสัมผัสเพื่อสั่งงานต่างๆ อาทิ เพิ่มลดเสียง และยังมีส่วนของการอธิบายเกี่ยวกับการประกอบชิ้นส่วนกรอบกระจกนี้ รวมไปถึงสิทธิบัตรที่อาจจะเป็นกรอบที่สามารถถอดชิ้นส่วนออกเพื่อครอบตัวเครื่องได้



และยังแสดงให้เห็นถึงซอฟท์แวร์ที่ทำงานร่วมกันได้เป็นอย่างดี โดยจะมีการแสดงผลไปรอบๆ กรอบกระจกทั้งหมด นอกจาก iPhone แล้ว ในสิทธิบัตรยังสื่อถึง Apple Watch, Mac Pro และ Mac Pro Tower ที่จะติดตั้งกรอบกระจกรอบตัวอีกด้วย

ถึงแม้ว่าการยื่นจดสิทธิบัตรของ Apple จะไม่ได้ทำออกมาในทันที แต่ก็แสดงให้เห็นถึงการวิจัยและการพัฒนาของบริษัท และยังเป็นเรื่องราวที่น่าสนใจว่าในอนาคตทาง Apple จะหยิบสิทธิบัตรใบไหนมาใช้งานจริงๆ บ้าง
ที่มา MacRumors






