Monday, December 22, 2025
  • Contact us
Flashfly Dot Net
  • Home
    • Flashfly Online Channel
    • Feature
    • Tips&Tricks
  • NEWS
    • PR News
    • Lifestyle
  • Samsung
  • Vivo
  • OPPO
  • iPhone
  • Smartphone
    • App Free
    • Nokia
    • Windows 10
    • Android
    • BlackBerry 10
  • Games
    • Playstation
    • Nintendo
  • Review & Preview
  • Contact us
No Result
View All Result
  • Home
    • Flashfly Online Channel
    • Feature
    • Tips&Tricks
  • NEWS
    • PR News
    • Lifestyle
  • Samsung
  • Vivo
  • OPPO
  • iPhone
  • Smartphone
    • App Free
    • Nokia
    • Windows 10
    • Android
    • BlackBerry 10
  • Games
    • Playstation
    • Nintendo
  • Review & Preview
  • Contact us
No Result
View All Result
Flashfly Dot Net
No Result
View All Result
Home iPhone

ล้ำไปอีกขั้น!! Apple ได้สิทธิบัตรให้ iPhone พลิกตัวกลางอากาศไม่ให้หน้าจอแตกได้แล้ว

Jackrich T. by Jackrich T.
December 4, 2014
in iPhone, NEWS
0
SHARES
8
VIEWS
Share on FacebookShare on Twitter

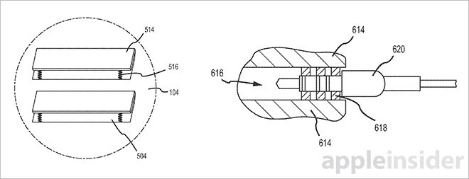
อีกหนึ่งความเคลื่อนไหวของนวัตกรรมใหม่ๆจากทาง Apple ที่ล่าสุดได้เป็นเจ้าของสิทธิบัตรพลิกตัวเครื่อง iPhone กลางอากาศกรณีที่ทำตกหรือหลุดมือเพื่อไม่ให้หน้าจอแตก โดยมีชื่อว่า Protective mechanism for an electronic device โดยจะมีเซ็นเซอร์ที่จะคำนวณจุดตกระทบอย่างรวดเร็วและมอเตอร์พิเศษที่ที่จะช่วยให้ตัวเครื่องพลิกตัวเครื่องกลางอากาศเพื่อให้เกิดผลกระทบน้อยที่สุด

11241-3995-141202-Protect-l
11241-3996-141202-Protect-2-l
11241-3997-141202-Protect-3-l

ซึ่ง Apple ได้ยื่นจดสิทธิบัตรนี้ตั้งแต่ปี 2013 ที่ผ่านมาและได้รับการรับรองเมื่อวันที่ 2 ธันวาคม 2014 ที่ผ่านมา มาลุ้นกันว่าสิทธิบัตรดังกล่าวจะเริ่มนำมาใช้งานบน iPhone 6s หรือไม่

ที่มา – appleinsider

http://www.flashfly.net/wp/?p=107928






Tags: AppleProtective mechanism for an electronic device
ShareTweetShare

Related Posts

หลุดรายชื่อผลิตภัณฑ์ใหม่หลายรายการที่ Apple กำลังพัฒนา อ้างอิงจากโค้ดเนม
iPhone

หลุดรายชื่อผลิตภัณฑ์ใหม่หลายรายการที่ Apple กำลังพัฒนา อ้างอิงจากโค้ดเนม

December 16, 2025
Johny Srouji อาจเป็นผู้บริหารระดับสูงคนต่อไปที่จะลาออกจาก Apple
iPhone

Johny Srouji ยังไม่มีแผนลาออกจาก Apple

December 10, 2025
เจ้าของ iPhone ในญี่ปุ่น สามารถรับ-ส่งข้อความผ่านดาวเทียมได้แล้ว
iPhone

เจ้าของ iPhone ในญี่ปุ่น สามารถรับ-ส่งข้อความผ่านดาวเทียมได้แล้ว

December 10, 2025
Load More
  • ยินดีต้อนพับ!! สัมผัสเครื่องจริง Samsung Galaxy Z Fold5, Galaxy Z Flip5, Galaxy Tab S9 Series และ Galaxy Watch6 Series พร้อมบุกตลาดประเทศไทยแล้ว

    ยินดีต้อนพับ!! สัมผัสเครื่องจริง Samsung Galaxy Z Fold5, Galaxy Z Flip5, Galaxy Tab S9 Series และ Galaxy Watch6 Series พร้อมบุกตลาดประเทศไทยแล้ว

    356 shares
    Share 0 Tweet 0
  • วาร์ปสู่โลกใหม่!! สัมผัสเครื่องจริง Samsung Galaxy S24 Series ครบทุกรุ่นทุกสี พร้อมใช้งาน Galaxy AI สุดล้ำ

    101 shares
    Share 0 Tweet 0
  • รีวิว Samsung Galaxy Tab A9+ แท็บเล็ตสุดคุ้มจอ 11 นิ้วรีเฟรช 90Hz ใช้ชิป Snapdragon 695 รองรับ 5G ระบบเสียง Dolby Atmos ราคา 8,990 บาท

    0 shares
    Share 0 Tweet 0
  • รีวิว Samsung Galaxy S23 FE มาอย่างพี๊คคค สเปกแฟล็กชิป ในราคาเป็นมิตร จอ 120Hz กล้องหลัง 3 ตัว 50MP ซูม 3x คมกริบ แบต 4,500mAh

    502 shares
    Share 0 Tweet 0
  • รีวิว Samsung Galaxy Tab S10 Lite แท็บเล็ตสุดคุ้มราคาหมื่นต้นครบเซ็ทไม่ต้องจ่ายเพิ่ม

    425 shares
    Share 0 Tweet 0

Browse by Category

  • AIS
  • Android
  • App Free
  • BlackBerry 10
  • dtac
  • EV Car
  • Feature
  • Flashfly Online Channel
  • Games
  • iPhone
  • Lifestyle
  • NEWS
  • Nintendo
  • Nokia
  • OPPO
  • Playstation
  • PR News
  • Recommended
  • Review & Preview
  • Samsung
  • Smartphone
  • Tips&Tricks
  • Truemove H
  • Windows Phone

Recent News

รีวิว HUAWEI MatePad 12 X (2026) ประสบการณ์ระดับพีซีด้วย PC-level WPS Office 3.0 จอ Ultra-Clear PaperMatte Display คมชัดสบายตา และ HUAWEI M-Pencil Pro

รีวิว HUAWEI MatePad 12 X (2026) ประสบการณ์ระดับพีซีด้วย PC-level WPS Office 3.0 จอ Ultra-Clear PaperMatte Display คมชัดสบายตา และ HUAWEI M-Pencil Pro

December 21, 2025
HONOR Magic V6 จะใช้ชิป Snapdragon 8 Elite Gen 5 กล้องหลัก 200 ล้านพิกเซล

HONOR Magic V6 จะใช้ชิป Snapdragon 8 Elite Gen 5 กล้องหลัก 200 ล้านพิกเซล

December 21, 2025
  • About
  • Advertise
  • Privacy & Policy
  • Contact

© 2021 FlashFly.net. window.dataLayer = window.dataLayer || []; function gtag(){dataLayer.push(arguments);} gtag('js', new Date()); gtag('config', 'G-6SFV8YRF40');

No Result
View All Result
  • NEWS
  • Review & Preview
  • iPhone
  • Android
  • Smartphone
  • Games

© 2021 FlashFly.net. window.dataLayer = window.dataLayer || []; function gtag(){dataLayer.push(arguments);} gtag('js', new Date()); gtag('config', 'G-6SFV8YRF40');