สำนักงานสิทธิบัตรและเครื่องหมายการค้าของสหรัฐฯ ประกาศรับรองสิทธิบัตรใหม่ล่าสุดของ Apple พร้อมกัน 2 รายการ คือ สิทธิบัตรหมายเลข 9,363,589 สำหรับ อุปกรณ์ป้องกันของเหลวในระบบเสียง และสิทธิบัตรหมายเลข 9,363,596 สำหรับชุดหูฟังที่มีเทคโนโลยีลดเสียงรบกวนรอบข้าง โดยใช้สัญญาณไมโครโฟนผสานกับเซ็นเซอร์ Accelerometer เพื่อปรับปรุงคุณภาพเสียงในโทรศัพท์มือถือ
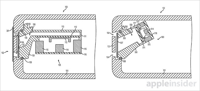
สิทธิบัตรหมายเลข 9,363,589 แสดงให้เห็นถึงวิธีการป้องกันน้ำของระบบเสียง ด้วยตาข่ายที่ทำงานได้แบบร่ม และแยกออกเป็น 2 ช่อง เพื่อใช้เป็นทางระบายของเหลวออกไป ด้วยระบบตาข่ายนี้จะช่วยป้องกันความเสียหายที่จะเกิดกับระบบเสียงที่อยู่ภายในได้ ซึ่งดูเหมือนจะเป็นวิธีการเดียวกับที่ใช้ใน Apple Watch และอาจจะถูกนำไปใช้กับ iPhone ในอนาคต
สิทธิบัตรหมายเลข 9,363,596 สำหรับชุดหูฟังที่จะช่วยให้การสนทนาชัดเจนขึ้น โดยติดตั้งเซ็นเซอร์ Accelerometer เพื่อตรวจจับแรงสั่นจากเส้นเสียง, กระดูก และ เนื้อเยื่อในศีรษะของผู้ใช้ ซึ่งจะช่วยตัดเสียงรบกวนได้อย่างมีประสิทธิภาพ ขณะที่สายของหูฟังก็มีการติดตั้งไมโครโฟนไว้ถึง 3 ตัว เพื่อให้เสียงสนทนามีความชัดเจน และ ตัดเสียงก้องออกไป
ทั้งนี้ สิทธิบัตรทั้ง 2 รายการ ถูกยื่นจดตั้งแต่ปี 2014 และ 2013 ตามลำดับ แต่สำนักสิทธิบัตรและเครื่องหมายการค้าของสหรัฐฯ ได้ประกาศรับรองเมื่อไม่กี่วันที่ผ่านมานี้เอง
ที่มา – appleinsider
http://www.flashfly.net/wp/?p=148833









