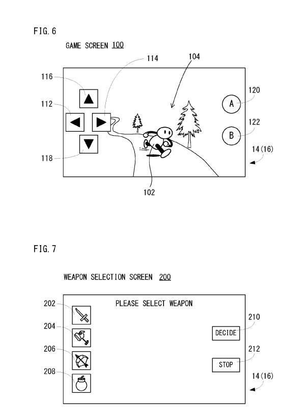
Nintendo ได้ยื่นจดสิทธิบัตรกับสำนักงานสิทธิบัตรและเครื่องหมายการค้าในสหรัฐอเมริกา เผยให้เห็นเครื่องเล่นเกมพกพาที่พัฒนาขึ้นใหม่ มากับจอแสดงผลระบบสัมผัส ลำโพงในตัว มีระบบสั่นตอบสนองการเล่นเกม และยังติดตั้งปุ่มควบคุมเกมมาให้ด้วย ถึงแม้จะใช้จอสัมผัสก็ตามที
สิทธิบัตรล่าสุดของ Nintendo ถูกเรียกว่า “handheld information processing apparatus” มาพร้อมอินเทอร์เฟซที่ควบคุมด้วยการสัมผัส เช่น การเลือกอาวุธ, ปุ่มกดเสมือน, ป้อนข้อความ เป็นต้น อีกทั้งยังมีปุ่มควบคุมเกมทั้งปุ่ม Circle Pad, ปุ่ม D-Pad และ ปุ่ม A B X Y นอกจากนี้ด้านล่างยังติดตั้งลำโพงมา 2 ตัว
Nintendo มีแผนเปิดตัวคอนโซลรุ่นใหม่ที่มีโค้ดเนมว่า NX ภายในเดือนมีนาคม 2017 และยังคงเก็บรายละเอียดไว้เป็นความลับ Tatsumi Kimishima ประธานบริษัทกล่าวแต่เพียงสั้นๆ ว่า NX คือวิธีใหม่ของการเล่นเกม และไม่ได้มาแทนที่ Wii U บางคนคาดว่า NX อาจจะเป็นอุปกรณ์ไฮบริด เป็นคอนโซลที่พกพาได้ และอาจใช้ตลับเกมแทนแผ่นดิสก์
ที่มา – IGN









