Microsoft ปล่อยภาพทีเซอร์ Bluetooth Keyboard รุ่นใหม่ คาดว่าเป็นรุ่นเดียวกับ Surface Ergonomic Keyboard ที่ผ่านการรับรองมาตรฐาน Bluetooth ของหน่วยงาน SIG เมื่อวันที่ 25 กันยายนที่ผ่านมา Bluetooth Keyboard รุ่นใหม่ของ Microsoft ใช้สีเทาซึ่งเข้ากันได้ดีกับสีแมกนีเซียมของอุปกรณ์ Surface series และดูเหมือนจะมี Surface Mouse ตามออกมาด้วย โดยทั้งหมดจะรองรับการเชื่อมต่อ Bluetooth 4.0 Low Energy
แหล่งข่าวยังเชื่อมโยง Keyboard กับ Mouse รุ่นใหม่ อาจนำมาใช้งานร่วมกับคอมพิวเตอร์ Surface All-in-One ที่มีข่าวลือว่าจะเปิดตัวในช่วงเวลาที่เหลือของปี 2016 หรืออย่างเร็วที่สุดคือปลายเดือนตุลาคมนี้
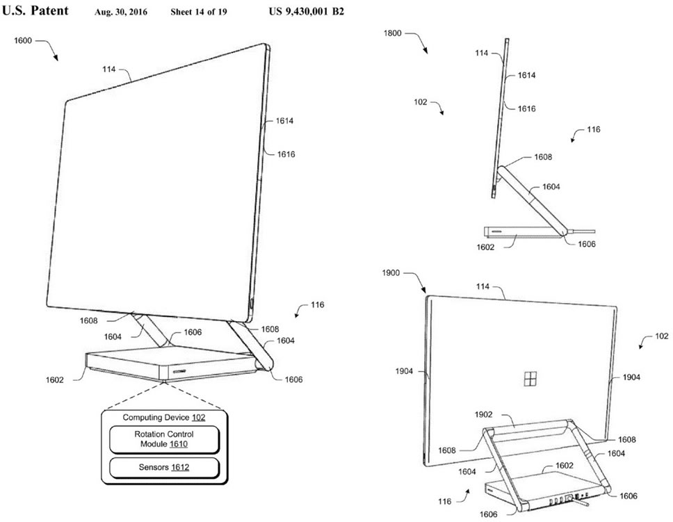
รายงานล่าสุดระบุว่า Surface All-in-One อาจใช้จอสัมผัส ขนาด 27 นิ้ว รองรับการทำงานร่วมกับปากกา Stylus มีกล้องดิจิตอลในตัว ตอบสนองคำสั่งผ่านการใช้ท่าทาง หรือ Gesture ข้อมูลจากสิทธิบัตรยังมีแนวโน้มที่จะทำให้ Surface All-in-One เป็นมากกว่าคอมพิวเตอร์ส่วนบุคคล ซึ่งเหมาะสำหรับวางไว้ในห้องนั่งเล่น
ที่มา – Windows Central
http://www.flashfly.net/wp/?p=160914







