ก่อนหน้านี้เราเคยเห็นแนวคิดสมาร์ทโฟนพับได้ของ Samsung มาแล้ว ล่าสุดมีการเปิดเผยว่า Apple ก็ได้จดสิทธิ iPhone พับได้ เอาไว้เช่นกัน และถูกค้นพบว่า Apple มีแนวคิดออกแบบ iPhone พับได้ ตั้งแต่ปี 2013 และมีการจดสิทธิบัตรในยุโรปไปแล้ว 2 ครั้ง และสิทธิบัตรที่ถูกแชร์ออกมาล่าสุดถูกยื่นจดไว้ในวันที่ 28 สิงหาคม 2014 โดยสำนักสิทธิบัตรและเครื่องหมายการค้าแห่งประเทศสหรัฐอเมริกา ก่อนจะได้รับการตีพิมพ์ในวันที่ 1 พฤศจิกายน 2016
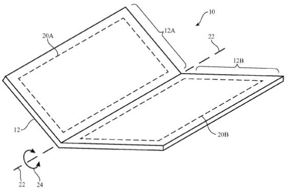
ในสิทธิบัตรไม่ได้ระบุเจาะจงว่าเป็น iPhone แต่ใช้คำว่า อุปกรณ์อิเล็กทรอนิกส์ มาพร้อม Carbon Nanotube แผ่นวงจรพิมพ์ที่ยืดหยุ่นได้ แต่เราเห็นเอกลักษณ์ของ iPhone อย่างชัดเจนในภาพร่าง นั่นคือปุ่มโฮม
ข้อมูลจากสิทธิบัตร ทำให้เราทราบว่าบอดี้หรือเคสของ iPhone พับได้ อาจผลิตด้วยวัสดุกระจก, เซรามิก, ไฟเบอร์, อลูมิเนียม หรือ พลาสติก ซึ่งวัสดุเหล่านี้ก็ถูกนำมาใช้แล้วกับสมาร์ทโฟนในปัจจุบัน และหัวใจสำคัญที่ทำให้ iPhone ในอนาคตพับได้ครึ่งหนึ่งก็คือ Carbon Nanotube
อย่างไรก็ตาม การออกแบบหรือแนวคิดที่ถูกจดสิทธิบัตรนั้น ไม่ได้หมายความว่าจะถูกผลิตออกมาในเร็วๆ นี้ แต่ก็มีความเป็นไปได้ที่เราจะได้ใช้ในอนาคต
ที่มา – Gizmodo
http://www.flashfly.net/wp/?p=163395








