สมาร์ทโฟนพับได้ของ Samsung ถูกพูดถึงมานานหลายปี มีภาพร่างจากสิทธิบัตรหลุดออกมาให้เห็นหลายแบบ และสิทธิบัตรล่าสุดที่ได้รับการเปิดเผยออกมา ก็มีดีไซน์ที่ต่างออกไปจากที่เราเคยเห็นกัน มันเป็นหนึ่งในกระบวนการพัฒนาและวิจัยสมาร์ทโฟนหรืออุปกรณ์สักหนึ่งชิ้น ที่จะมีต้นแบบให้เลือกมากกว่า 1 ดีไซน์ แต่ท้ายที่สุดผู้ผลิตจะเลือกเพียงหนึ่งเดียว ก่อนเผยโฉมออกมาให้ผู้บริโภคได้เห็น
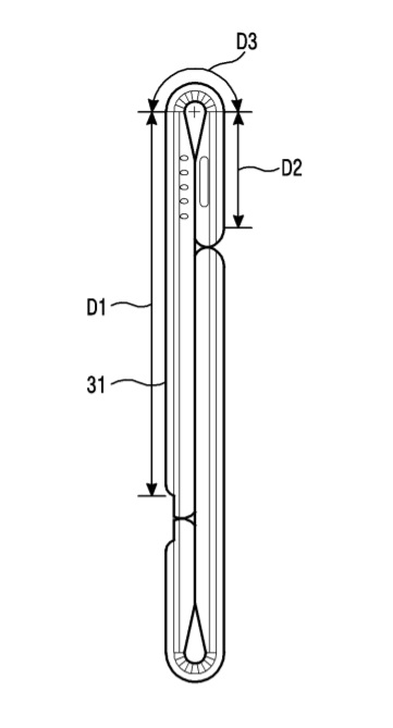
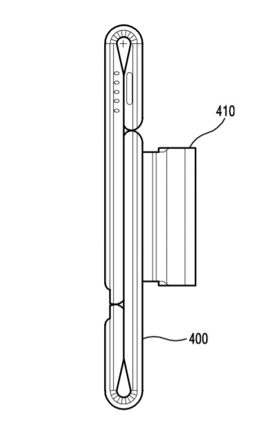
จากภาพร่างในสิทธิบัตรล่าสุดของ Samsung ทำให้เราเห็นสมาร์ทโฟนที่สามารถพับได้ใน 2 ลักษณะ โดยแบบแรกจะพับในส่วนของกล้องและปุ่มโฮมมาไว้ด้านหน้า แต่จอแสดงผลจะมีขนาดเล็กลง แบบที่สอง สามารถพับให้ปุ่มโฮมกับกล้องดิจิตอลไว้ด้านหลัง เพื่อเน้นใช้งานจอแสดงผลแบบเต็มพื้นที่
ดังนั้นสมาร์ทโฟนพับได้ตามสิทธิบัตรฉบับนี้จะมีกล้องดิจิตอล 2 ตัว ที่สามารถพับให้เป็นกล้องเซลฟี่ได้ 1 ตัว นอกจากนี้ยังมีจุดเด่นที่สามารถแนบติดกับเลนส์กล้องขนาดใหญ่ได้ เพื่อเพิ่มประสิทธิภาพสำหรับการถ่ายรูปแบบมืออาชีพ
สมาร์ทโฟนพับได้ของ Samsung ถูกพัฒนาภายใต้ชื่อ Galaxy X และคาดว่าเราจะได้เห็นดีไซน์ที่ชัดเจนหรือใกล้เคียงของจริงมากที่สุดในปี 2017 (ช่วงครึ่งปีหลัง)
ที่มา – GalaxyClub
http://www.flashfly.net/wp/?p=166813














