สำนักงานสิทธิบัตรและเครื่องหมายการค้าของสหรัฐอเมริกา เปิดเผยสิทธิบัตรล่าสุดของ Apple Watch ที่ยืนจดในชื่อ “Band attachment mechanism with haptic response” อธิบายถึงความสำคัญของสายนาฬิกา ที่จะเข้ามามีบทบาทมากขึ้น ช่วยแจ้งเตือนต่างๆ รวมทั้งแจ้งเตือนเมื่อมีสายเรียกเข้า
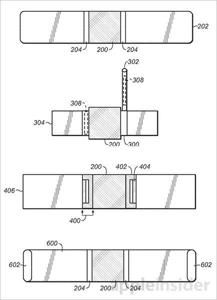
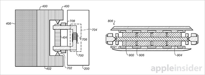
จากสิทธิบัตรล่าสุด เห็นได้ชัดเจนว่าวิศวกรของ Apple ต้องการลดความหนาของตัวเรือน Apple Watch ในอนาคต โดยการย้าย Haptic Feedback และกลไกบางอย่างไปไว้ที่ส่วนประกอบต่างๆ ของสายนาฬิกา ไม่ว่าจะเป็นในโครงสร้างของสายนาฬิกา, หัวเข็มขัด และ แกนสปริง ทั้งหมดนี้จะช่วยให้ Apple Watch ตรวจจับการเคลื่อนไหวของผู้สวมใส่ได้แม่นยำขึ้น และมีส่วนทำให้ Apple Watch มีขนาดบางลงกว่าเดิม
อย่างไรก็ตาม นี่เป็นเทคโนโลยีที่อยู่บนแผ่นกระดาษ ยังไม่มีรายงานจาก Apple ว่าได้เริ่มนำมาทดสอบหรือพัฒนาเป็นรุ่นต้นแบบแล้วหรือยัง และแน่นอนว่า Apple ไม่เคยเปิดเผยถึงเทคโนโลยีที่บริษัทกำลังวิจัย
ที่มา – AppleInsider
http://www.flashfly.net/wp/?p=168323










