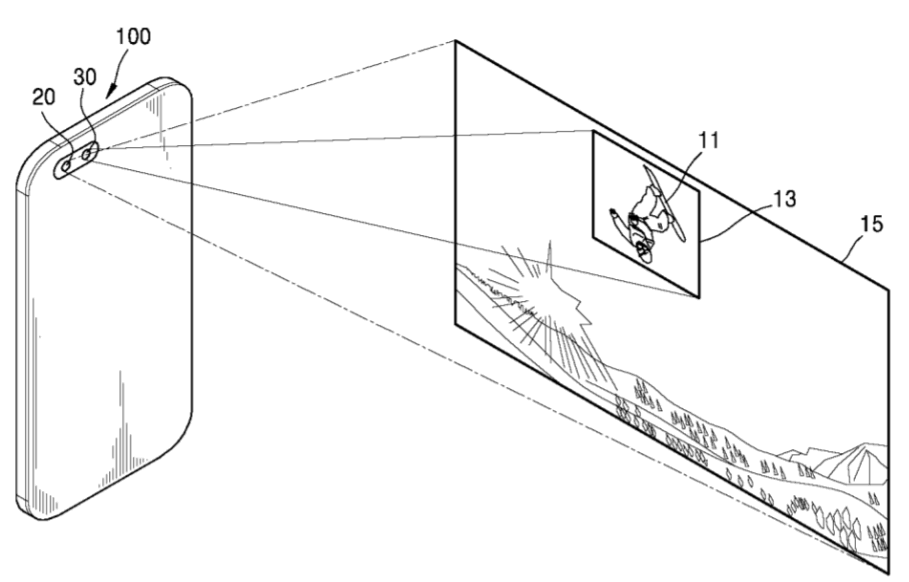
Samsung ยื่นจดสิทธิบัตรใหม่ในเกาหลีใต้ สำหรับเทคโนโลยีกล้องดิจิตอลเลนส์คู่บนสมาร์ทโฟนในอนาคต ได้แสดงให้เห็นว่า Samsung จะใช้กล้องมุมกว้างในการโฟกัสไปที่ฉากหลัง ขณะที่กล้องอีกตัวจะติดตามวัตถุที่กำลังเคลื่อนไหว หลังจากการบันทึกภาพจะทำให้ผู้ใช้งานสามารถปรับแต่งการซูม และตั้งค่าอื่นๆ โดยที่รูปภาพจะไม่สูญเสียความคมชัด
อย่างไรก็ตาม เรายังไม่อาจทราบได้ว่าเทคโนโลยีกล้องดิจิตอลเลนส์คู่ตามสิทธิบัตรฉบับนี้ จะพร้อมใช้งานทันทีกับสมาร์ทโฟน Samsung Galaxy S8 หรือไม่
ที่มา – GalaxyClub
http://www.flashfly.net/wp/?p=169221








