สำนักข่าว Bloomberg อ้างว่า Apple จะพร้อมเปิดตัวอุปกรณ์ AR headset ในอีก 2 ปีข้างหน้า หลังจากเริ่มนำร่องด้วยการปล่อย ARKit ออกมาสำหรับ iOS 11 ซึ่งในระหว่างพัฒนาได้ทดลองใช้ต้นแบบกับ HTC Vive ซึ่งเป็นอุปกรณ์ VR headset
AR headset ของ Apple จะมีจอแสดงผลในตัว ใช้ชิปและระบบปฏิบัติการที่พัฒนาขึ้นมาใหม่ เรียกว่า rOS หรือ Reality Operating System ผู้ใช้งานสามารถควบคุมอุปกรณ์ด้วยท่าทางผ่านศีรษะ, แผงสัมผัส และ ควบคุมด้วยเสียงผ่าน Siri
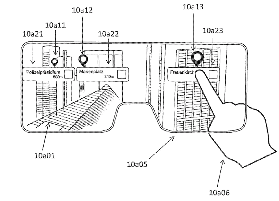
ภาพด้านบนแสดงสิทธิบัตร AR headset ที่ Apple ได้จดไว้ เป็นแว่นตาที่สามารถแสดงข้อมูลหรือวัตถุ Augmented Reality ขึ้นมาทับซ้อนภาพที่เราเห็นในโลกจริง
ถ้ารายงานนี้ถูกต้อง Apple จะพร้อมเปิดตัวอุปกรณ์ AR headset ภายในปี 2019 และจะสามารถจัดส่งให้กับผู้บริโภคได้ภายในปี 2020
ที่มา – The Verge
http://www.flashfly.net/wp/199529







