PlayStation 5 จะสามารถเล่นเกมเก่าๆ ของ PlayStation ได้ทั้งหมด อ้างอิงจากสิทธิบัตรของ Sony Interactive Entertainment America ซึ่งได้ยื่นจดไว้ตั้งแต่วันที่ 22 พฤศจิกายน 2016 หรือเกือบ 2 ปีที่แล้ว แต่ได้รับการเปิดเผยเมื่อต้นเดือนตุลาคมที่ผ่านมา
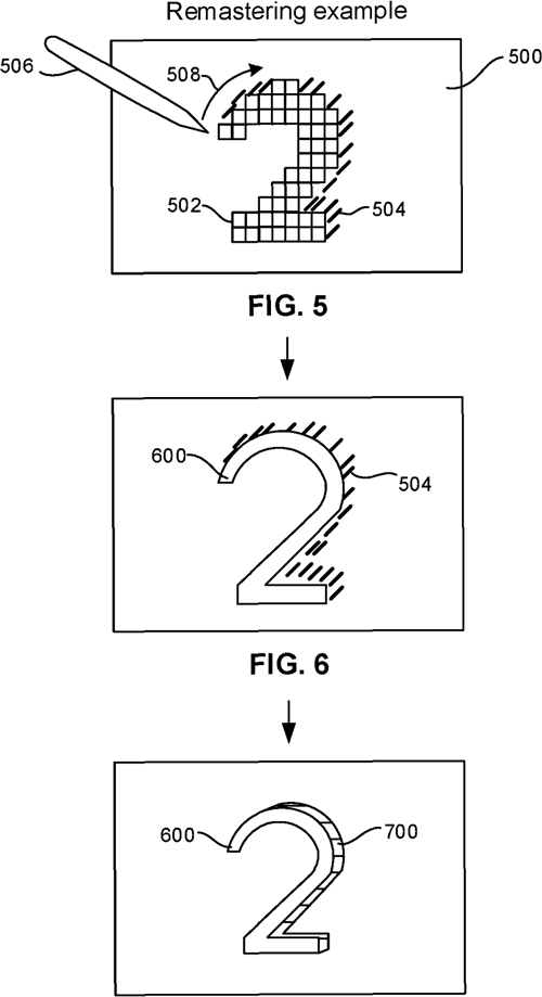
สิทธิบัตรดังกล่าว อธิบายว่า PlayStation 5 จะใช้เทคโนโลยี “remastering by emulation” ที่ช่วยให้คอนโซลรุ่นใหม่ เล่นเกมจากคอนโซลรุ่นเก่าได้ทั้งหมด โดยใช้ซอฟต์แวร์มาช่วยในการปรับคอนเท้นต์ให้มีความคมชัด รวมไปถึงระบบเสียงด้วย คล้ายกับเป็นการ Remaster กราฟิกของเกมในระหว่างเล่น
อย่างไรก็ตาม เนื่องจากสิทธิบัตรฉบับนี้ ยื่นจดไว้นานกว่า 2 ปีแล้ว จึงยังไม่มีความชัดเจนว่า เทคโนโลยี “remastering by emulation” จะนำมาใช้กับ PlayStation 5 ในอนาคต หรือจะนำมาใช้กับระบบ PlayStation 4 ในปัจจุบัน
ที่มา – Eurogamer
http://www.flashfly.net/wp/?p=231084








