Monday, December 22, 2025
  • Contact us
Flashfly Dot Net
  • Home
    • Flashfly Online Channel
    • Feature
    • Tips&Tricks
  • NEWS
    • PR News
    • Lifestyle
  • Samsung
  • Vivo
  • OPPO
  • iPhone
  • Smartphone
    • App Free
    • Nokia
    • Windows 10
    • Android
    • BlackBerry 10
  • Games
    • Playstation
    • Nintendo
  • Review & Preview
  • Contact us
No Result
View All Result
  • Home
    • Flashfly Online Channel
    • Feature
    • Tips&Tricks
  • NEWS
    • PR News
    • Lifestyle
  • Samsung
  • Vivo
  • OPPO
  • iPhone
  • Smartphone
    • App Free
    • Nokia
    • Windows 10
    • Android
    • BlackBerry 10
  • Games
    • Playstation
    • Nintendo
  • Review & Preview
  • Contact us
No Result
View All Result
Flashfly Dot Net
No Result
View All Result
Home iPhone

อาจจะเป็น Apple Watch เวอร์ชั่นใหม่ หลัง Apple ยื่นจดสิทธิบัตรอุปกรณ์สวมใส่เพิ่มเติม

Flashfly by Flashfly
November 24, 2021
in iPhone
0
SHARES
7
VIEWS
Share on FacebookShare on Twitter

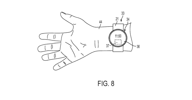
ก่อนหน้านี้อาจจะเคยได้ยินข่าวลือเกี่ยวกับอุปกรณ์อื่นๆ ของ Apple มาตลอด แต่ครั้งนี้ดูเหมือนว่าจะเริ่มเป็นจริงมากขึ้นสำหรับการจดสิทธิบัตรเพิ่มเติมของทาง Apple โดยมีการอ้างอิงถึงการออกแบบของอุปกรณ์ต่างๆ ที่เป็นไปได้หลายอย่าง

จากรูปภาพในสิทธิบัตรเราจะเห็นได้ว่าเป็นสายคล้องข้อมือที่สามารถเชื่อมต่อกับอุปกรณ์อื่นๆ ได้ รวมถึงยังมีการแสดงผลหน้าจอบนสายคล้องข้อมือหรือสายรัดข้อมือนั้นๆ หรืออาจจะเป็นสมาร์ทวอทช์หรือสมาร์ทแบนด์รุ่นใหม่จากทาง Apple ก็เป็นได้

โดยอุปกรณ์ดังกล่าวนี้อาจจะใช้เพื่อรวบรวมข้อมูลเกี่ยวสถานที่, กิจจกรรมการออกกำลังกาย, การแพทย์ และอาจจะมีฟีเจอร์แทรกกิ้งติดตามสถานที่ต่างๆ เหมือนกับ AirTags อีกด้วย ซึ่งก็ยังไม่แน่ชัดว่าจะเป็นอะไร อาจจะเป็นสร้อยคอ สร้อยข้อมือ หรือทั้งสองอย่างก็เป็นไปได้

ปัจจุบัน Apple นั้นมี Apple Watch ที่เป็นสมาร์ทวอทช์อยู่แล้ว สำหรับการยื่นจดสิทธิบัตรใหม่นี้ก็จะมาเป็นแนวอุปกรณ์สวมใส่ข้อมือเช่นกัน ซึ่งอาจจะเป็นเวอร์ชันใหม่ของ Apple Watch หรืออุปกรณ์ใหม่ไปเลยก็เป็นไปได้ และแน่นอนว่าก็ยังไม่สามารถยืนยันอะไรได้จากการที่ Apple ยื่นจดสิทธิบัตรนี้

ที่มา iDropNews






Tags: Apple
ShareTweetShare

Related Posts

หลุดรายชื่อผลิตภัณฑ์ใหม่หลายรายการที่ Apple กำลังพัฒนา อ้างอิงจากโค้ดเนม
iPhone

หลุดรายชื่อผลิตภัณฑ์ใหม่หลายรายการที่ Apple กำลังพัฒนา อ้างอิงจากโค้ดเนม

December 16, 2025
Johny Srouji อาจเป็นผู้บริหารระดับสูงคนต่อไปที่จะลาออกจาก Apple
iPhone

Johny Srouji ยังไม่มีแผนลาออกจาก Apple

December 10, 2025
เจ้าของ iPhone ในญี่ปุ่น สามารถรับ-ส่งข้อความผ่านดาวเทียมได้แล้ว
iPhone

เจ้าของ iPhone ในญี่ปุ่น สามารถรับ-ส่งข้อความผ่านดาวเทียมได้แล้ว

December 10, 2025
Load More
  • ยินดีต้อนพับ!! สัมผัสเครื่องจริง Samsung Galaxy Z Fold5, Galaxy Z Flip5, Galaxy Tab S9 Series และ Galaxy Watch6 Series พร้อมบุกตลาดประเทศไทยแล้ว

    ยินดีต้อนพับ!! สัมผัสเครื่องจริง Samsung Galaxy Z Fold5, Galaxy Z Flip5, Galaxy Tab S9 Series และ Galaxy Watch6 Series พร้อมบุกตลาดประเทศไทยแล้ว

    356 shares
    Share 0 Tweet 0
  • วาร์ปสู่โลกใหม่!! สัมผัสเครื่องจริง Samsung Galaxy S24 Series ครบทุกรุ่นทุกสี พร้อมใช้งาน Galaxy AI สุดล้ำ

    101 shares
    Share 0 Tweet 0
  • รีวิว Samsung Galaxy Tab A9+ แท็บเล็ตสุดคุ้มจอ 11 นิ้วรีเฟรช 90Hz ใช้ชิป Snapdragon 695 รองรับ 5G ระบบเสียง Dolby Atmos ราคา 8,990 บาท

    0 shares
    Share 0 Tweet 0
  • รีวิว Samsung Galaxy S23 FE มาอย่างพี๊คคค สเปกแฟล็กชิป ในราคาเป็นมิตร จอ 120Hz กล้องหลัง 3 ตัว 50MP ซูม 3x คมกริบ แบต 4,500mAh

    502 shares
    Share 0 Tweet 0
  • รีวิว Samsung Galaxy Tab S10 Lite แท็บเล็ตสุดคุ้มราคาหมื่นต้นครบเซ็ทไม่ต้องจ่ายเพิ่ม

    425 shares
    Share 0 Tweet 0

Browse by Category

  • AIS
  • Android
  • App Free
  • BlackBerry 10
  • dtac
  • EV Car
  • Feature
  • Flashfly Online Channel
  • Games
  • iPhone
  • Lifestyle
  • NEWS
  • Nintendo
  • Nokia
  • OPPO
  • Playstation
  • PR News
  • Recommended
  • Review & Preview
  • Samsung
  • Smartphone
  • Tips&Tricks
  • Truemove H
  • Windows Phone

Recent News

รีวิว HUAWEI MatePad 12 X (2026) ประสบการณ์ระดับพีซีด้วย PC-level WPS Office 3.0 จอ Ultra-Clear PaperMatte Display คมชัดสบายตา และ HUAWEI M-Pencil Pro

รีวิว HUAWEI MatePad 12 X (2026) ประสบการณ์ระดับพีซีด้วย PC-level WPS Office 3.0 จอ Ultra-Clear PaperMatte Display คมชัดสบายตา และ HUAWEI M-Pencil Pro

December 21, 2025
HONOR Magic V6 จะใช้ชิป Snapdragon 8 Elite Gen 5 กล้องหลัก 200 ล้านพิกเซล

HONOR Magic V6 จะใช้ชิป Snapdragon 8 Elite Gen 5 กล้องหลัก 200 ล้านพิกเซล

December 21, 2025
  • About
  • Advertise
  • Privacy & Policy
  • Contact

© 2021 FlashFly.net. window.dataLayer = window.dataLayer || []; function gtag(){dataLayer.push(arguments);} gtag('js', new Date()); gtag('config', 'G-6SFV8YRF40');

No Result
View All Result
  • NEWS
  • Review & Preview
  • iPhone
  • Android
  • Smartphone
  • Games

© 2021 FlashFly.net. window.dataLayer = window.dataLayer || []; function gtag(){dataLayer.push(arguments);} gtag('js', new Date()); gtag('config', 'G-6SFV8YRF40');