ล่าสุดทาง Apple ได้มีการจดสิทธิบัตรอุปกรณ์ใหม่ ที่จะมีการพัฒนาขึ้นมาใช้งานใน MacBook Air รวมถึงรุ่นอื่นๆ ของตนเอง โดยเป็นการรวมช่อง USB และ SD Card Reader เข้าด้วยกัน
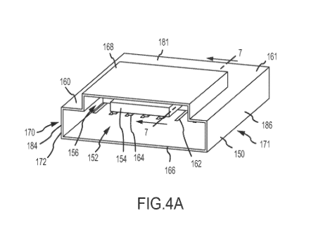
สำหรับอุปกรณ์ชิ้นใหม่นี้ ที่ทาง Apple ได้จดสิทธิบัตรขึ้นมา มีการใช้ชื่อว่า “combined input port” โดยรายละเอียดของอุปกรณ์พอร์ทเชื่อมต่อชิ้นนี้นั้น คือ ความสามารถในการเชื่อมต่อแบบพอร์ท USB รวมถึง สามารถใช้งานเป็น Card Reader สำหรับ SD การ์ดได้อีกอย่างหนึ่ง ซึ่งจะช่วยลบข้อด้วยสำหรับ MacBook Airs ขนาด 11 นิ้ว ที่ไม่มีพอร์ท Card Reader บนตัวเครื่อง ในขณะนี้
ขณะที่สิทธิบัตรฉบับนี้เพิ่งมีการเผยแพร่ออกมา แต่แท้จริงแล้วนั้น ทาง Apple ได้มีการยื่นจดไปตั้งแต่เดือนธันวาคมของปี 2011 แล้ว และ ที่ผ่านมานั้นมีอยู่หลายๆครั้งเหมือนกัน ที่ทาง Apple ได้มีการจดสิทธิบัตรบนอุปกรณ์ สินค้าต่างๆของตน แต่ก็ไม่เคยที่จะพัฒนาขึ้นมาใช้งานจริงแต่อย่างใด
อ้างอิงจาก – AppleInsider
http://www.flashfly.net/wp/?p=62016






