Sunday, April 5, 2026
ชมดีไซน์ทุกมุมของ Huawei Mate 30 Pro พร้อมเผยสเปกหลัก ก่อนเปิดตัว 19 กันยายนนี้ (ชมคลิป)

ชมดีไซน์ทุกมุมของ Huawei Mate 30 Pro พร้อมเผยสเปกหลัก ก่อนเปิดตัว 19 กันยายนนี้ (ชมคลิป)

Steve Hemmerstoffer เจ้าของบัญชี Twitter @OnLeaks แหล่งปล่อยข่าวที่เชื่อถือได้ ร่วมกับเว็บไซต์ Pricebaba เผยภาพเรนเดอร์ของสมาร์ทโฟน Huawei Mate 30 Pro ออกมาแล้ว ก่อนที่ Huawei จะจัดงานเปิดตัวขึ้นในเมืองมิวนิค ประเทศเยอรมนี วันที่ 19 ...

ดาวน์โหลดฟรี!! Wallpaper ธีมงาน By innovation only ที่ Apple จะเปิดตัว iPhone 11 เร็วๆนี้

ดาวน์โหลดฟรี!! Wallpaper ธีมงาน By innovation only ที่ Apple จะเปิดตัว iPhone 11 เร็วๆนี้

เมื่อปลายเดือนสิงหาคมที่ผ่านมา Apple ได้ปล่อยบัตรเชิญกิจกรรมพิเศษที่กำลังจะเกิดขึ้นในวันที่ 10 กันยายนนี้ โดยมีสโลแกน By innovation only มาพร้อมโลโก้ Apple ที่ถูกหั่นเป็นแนวขวางแยกออกเป็น 5 ชิ้น แต่ละชิ้นใช้สีที่แตกต่างกัน ซึ่งคาดกันว่าจะเป็นสีสันของ iPhone รุ่นใหม่ที่จะเปิดตัวในงานดังกล่าว สำหรับใครที่ตื่นเต้นกับงาน By ...

AIS และ กสทช. ห่วงใยลูกค้าภาคอีสานในพื้นที่ประสบภัยขยายระยะเวลาชำระค่าบริการให้สื่อสารได้สะดวกพร้อมส่งทีมวิศวกรดูแลเครือข่ายรับสถานการณ์อุทกภัยอย่างเต็มที่

รีวิว realme 5 Pro สมาร์ทโฟน 4 กล้อง ดีไซน์สวย แรม 8GB ความจุ 128GB ชาร์จไว VOOC 3.0 ในราคาต่ำหมื่น

เปิดตัวในประเทศไทยอย่างเป็นทางการไปเรียบร้อยแล้วกับ realme 5 และ realme 5 Pro สมาร์ทโฟนรุ่นใหม่ล่าสุดจากแบรนด์สมาร์ทโฟนน้องใหม่ที่มาแรงแบบสุดๆในตอนนี้ โดยทางทีมงานก็ได้ทำการรีวิวแกะกล่องเรียกน้ำย่อยกันไปก่อนหน้าแล้ว ซึ่งหลังจากที่เปิดตัวมาเพียงปีเดียวทำยอดจำหน่ายสมาร์ทโฟนไปแล้วกว่า 10 ล้านเครื่องทั่วโลก ติดอันดับ Top 10 แบรนด์สมาร์ทโฟนระดับโลกไปเป็นที่เรียบร้อย โดยในครั้งนี้ realme สร้างแรงสั่นสะเทือนให้กับวงการสมาร์ทโฟนที่กำลังเดินทางมาถึงไตรมาสสุดท้ายของปี ด้วยการเปิดตัว ...

USB 4 พัฒนาเสร็จสมบูรณ์ พร้อมประกาศข้อกำหนดของมาตรฐานออกมาแล้ว แต่มีความหมายกับ Mac อย่างไร?

USB 4 พัฒนาเสร็จสมบูรณ์ พร้อมประกาศข้อกำหนดของมาตรฐานออกมาแล้ว แต่มีความหมายกับ Mac อย่างไร?

USB Implementers Forum (USB-IF) ได้ประกาศข้อกำหนดของมาตรฐาน USB 4 ออกมาแล้ว ซึ่งนั่นหมายถึงผู้ผลิตอุปกรณ์ต่างๆ สามารถนำไปติดตั้งให้ผลิตภัณฑ์ของตัวเองได้ และคาดว่าผลิตภัณฑ์แรกที่รองรับ USB 4 จะพร้อมเปิดตัวในช่วงต้นปี 2020 มาตรฐานการเชื่อมต่อ USB 4 จะทำงานแบบ Two-lane ...

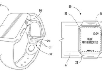
Apple จดสิทธิบัตรสาย Apple Watch ในอนาคตปรับสายให้กระชับข้อมืออัตโนมัติ

Apple จดสิทธิบัตรสาย Apple Watch ในอนาคตปรับสายให้กระชับข้อมืออัตโนมัติ

Apple จดสิทธิบัตรสาย Apple Watch เพิ่มอีก 3 รายการ แสดงให้เห็นว่า Apple มีแนวคิดเพิ่มความฉลาดให้กับสาย Apple Watch ในอนาคต โดยสิทธิบัตรแรก เผยให้เห็นถึงฟีเจอร์ Wrist ID ซึ่งเป็นวิธียืนยันตัวตนด้วยเซ็นเซอร์ทางไบโอเมตริกซ์ สาย Apple ...

OnePlus เปิดเผยสเปก Smart TV รุ่นแรกของค่าย ออกมาบางส่วนแล้ว ยืนยันขนาดจอ 55 นิ้ว มีลำโพง 8 ตัว

OnePlus เปิดเผยสเปก Smart TV รุ่นแรกของค่าย ออกมาบางส่วนแล้ว ยืนยันขนาดจอ 55 นิ้ว มีลำโพง 8 ตัว

OnePlus TV กำลังจะเปิดตัวทางการในปลายเดือนกันยายนนี้ และได้เริ่มโปรโมทแล้วบนร้าน Amazon ของประเทศอินเดีย โดยยืนยันว่า Smart TV รุ่นแรกของ OnePlus จะมาพร้อมจอแสดงผล 4K QLED ขนาด 55 นิ้ว สนับสนุน Dolby Vision ...

Samsung ปล่อยวีดีโอพรีวิว Galaxy Fold เผยดีไซน์ทุกมุมมอง พร้อมสาธิตการใช้งานทั่วไป กล้อง และ DeX

Samsung Galaxy Fold จะพร้อมวางจำหน่ายในวันที่ 27 กันยายนนี้

ก่อนหน้านี้มีข่าวว่า Samsung Galaxy Fold จะเริ่มวางจำหน่ายในเกาหลีใต้เป็นประเทศแรก ในวันที่ 6 กันยายนนี้ และรายงานล่าสุดจาก Evan Blass ซึ่งเป็นแหล่งข่าวที่เชื่อถือได้ อ้างว่า Samsung Galaxy Fold จะวางจำหน่ายในระดับโลก ตั้งแต่วันที่ 27 กันยายน ...

Black Shark 2 Pro เปิดรับจองในไทยแล้ว!! ก่อนวางจำหน่าย 9 กันยายนนี้ ราคาเริ่มต้น 19,900 บาท

Black Shark 2 Pro เปิดรับจองในไทยแล้ว!! ก่อนวางจำหน่าย 9 กันยายนนี้ ราคาเริ่มต้น 19,900 บาท

เกมมิ่งสมาร์ทโฟนรุ่นใหม่ล่าสุด Black Shark 2 Pro ที่เปิดตัวพร้อมชิปประมวลผลสุดแรง Qualcomm Snapdragon 855 Plus พร้อมรับจองในประเทศไทยแล้ววันนี้!! ผ่านทาง Lazada ก่อนจะเริ่มจัดส่งและวางจำหน่ายอย่างทางการ ตั้งแต่วันที่ 9 กันยายน 2562 เป็นต้นไป Black ...

Nubia Red Magic 3S ทำคะแนนจากแอพพลิเคชั่น AnTuTu ทะลุ 500,000

Nubia Red Magic 3S ทำคะแนนจากแอพพลิเคชั่น AnTuTu ทะลุ 500,000

แอพพลิเคชั่นวัดประสิทธิภาพ AnTuTu พบสมาร์ทโฟนรหัสรุ่น NX629J_V1S สามารถทำคะแนนจากการทดสอบได้สูงถึง 510,496 คะแนน ซึ่งแหล่งข่าวคาดว่านี่เป็นรหัสรุ่นของเกมมิ่งสมาร์ทโฟน Nubia Red Magic 3S ข้อมูลจาก AnTuTu แสดงให้เห็นว่า Nubia Red Magic 3S ได้รับคะแนนของซีพียู ...

สมาร์ทโฟนพับได้ของ Samsung จะเปิดตัวในต้นปีหน้า ราคาราว 50,200 บาท พร้อมรายงานความคืบหน้าของลำโพง Bixby

Samsung มีแผนเปิดตัวสมาร์ทโฟนพับได้ สไตล์มือถือฝาพับ ด้วยจอแสดงผลยืดหยุ่นสูง ขนาด 6.7 นิ้ว

Samsung ถูกลือว่ากำลังพัฒนาสมาร์ทโฟน ที่มีดีไซน์คล้ายมือถือฝาพับ แต่เมื่อกางออกมาแล้วจะพบกับจอแสดงผลเต็มรูปแบบ ที่สามารถพับได้และมีขนาด 6.7 นิ้ว (คาดว่าจะคล้ายกับ คอนเซ็ปต์ Motorola RAZR) แหล่งข่าวรายงานว่า Samsung ได้ร่วมออกแบบกับ Thom Browne ดีไซน์เนอร์ชาวอเมริกัน โดยหวังว่าจะช่วยดึงดูดผู้ใช้งานที่สนใจแฟชั่น และต้องการอุปกรณ์ที่มีความหรูหรา ซึ่งจะมาพร้อมจอแสดงผลที่มีความทันสมัยที่สุด ...

realme ปล่อยหมัดเด็ด เปิดตัว realme 5 series กล้องหลัง 4 ตัวพร้อมสเปคที่ดีที่สุด เปิด Pre – order แล้ววันนี้รีบด่วน!!

realme ปล่อยหมัดเด็ด เปิดตัว realme 5 series กล้องหลัง 4 ตัวพร้อมสเปคที่ดีที่สุด เปิด Pre – order แล้ววันนี้รีบด่วน!!

realme ประเทศไทยขอเชิญทุกท่านร่วมเป็นส่วนหนึ่งของประสบการณ์ครั้งใหม่ กับสมาร์ทโฟนกล้องหลัง 4 ตัวรุ่นแรก ที่มาพร้อมพลังเต็มเปี่ยม ร่วมเดินทางไปกับเราในงานเปิดตัว realme 5I5Pro กับสโลแกน  “Leap to quad camera สู่การพัฒนาที่เหนือชั้นด้วยหลัง 4 ตัว” พร้อมเปิด  Pre – order realme 5Pro ...

พลาดไม่ได้! OnePlus 7 Pro สุดยอดสมาร์ทโฟนสำหรับสายเกมเมอร์ตัวจริง กับราคาใหม่ที่จะ Power Up Your Life ให้ดียิ่งขึ้น

พลาดไม่ได้! OnePlus 7 Pro สุดยอดสมาร์ทโฟนสำหรับสายเกมเมอร์ตัวจริง กับราคาใหม่ที่จะ Power Up Your Life ให้ดียิ่งขึ้น

OnePlus 7 Pro สมาร์ทโฟนเรือธง Super Flagship สำหรับคอเอ็นเตอร์เทนเม้นท์ตัวจริง ที่จะ Power Up Your Life กับประสบการณ์ความเร็วแรงทรงพลังที่สุดกับหน้าจอ Fluid AMOLED จอใหญ่เต็มตาขนาด 6.67 นิ้ว รองรับการแสดงผลความละเอียด HDR10+ คมชัดทุกรายละเอียด พร้อมลำโพงคู่อย่าง Dolby Atmos ระบบเสียงรอบทิศทางเสมือนโฮมเธียเตอร์ส่วนตัว มอบที่สุดของอรรถรสในการรับชมความบันเทิงผ่านหน้าจอสมาร์ทโฟนได้อย่างเต็มเปี่ยมเหมาะสำหรับผู้ที่ชื่นชอบการดูหนัง ฟังเพลงบนสมาร์ทโฟน พร้อมกับการแสดงผลภาพที่มีค่ารีเฟรชเรทอยู่ที่ 90Hz เหนือกว่าด้วยความเนียนตาและนุ่มนวลของภาพบนหน้าจอ เหมาะกับการเล่นเกมส์ได้อย่างสมจริง และในครั้งนี้ OnePlus ให้คุณเป็นเจ้าของ OnePlus 7 Pro ได้ง่ายมากยิ่งขึ้นกับกับราคาใหม่ทุกรุ่น เพื่อให้คุณได้สัมผัสกับสุดยอดสมาร์ทโฟนที่เหมาะกับผู้ที่ชื่นชอบการดูหนัง ฟังเพลง และเล่มเกมแบบสุดฟิน โดย OnePlus 7 ...

Vivo เผยรูป Nex 3 สมาร์ตโฟนเรือธง คาดว่าจะเข้าไทยเร็วๆนี้ !!!

Vivo เผยรูป Nex 3 สมาร์ตโฟนเรือธง คาดว่าจะเข้าไทยเร็วๆนี้ !!!

หลังจาก Vivo ได้คิดค้นและพัฒนาเทคโลยีใหม่ๆ อยู่ตลอด ในช่วงกลางปี 2018 Vivo ได้ผลิต สมาร์ตโฟนระดับเรือธงออกมา ภายใต้ชื่อรุ่นที่ว่า NEX  โดย Vivo NEX ตัวแรกได้เปิดตัวมาพร้อมกับเทคโนโลยีกล้องหน้า Elevating Front Camera เป็นกล้องหน้าแบบป๊อปอัพรุ่นแรกของโลก ทำให้หน้าจอแสดงผลได้แบบเต็มจอโดยที่ไม่มีติ่งกล้องรบกวน ...

AIS และไมเนอร์ร่วมมือกับ IBM สร้างบุคลากรรองรับ ‘ตำแหน่งงานที่ไม่จำเป็นต้องมีปริญญา’

AIS และไมเนอร์ร่วมมือกับ IBM สร้างบุคลากรรองรับ ‘ตำแหน่งงานที่ไม่จำเป็นต้องมีปริญญา’

ไอบีเอ็มประกาศว่าบริษัท แอดวานซ์ อินโฟร์ เซอร์วิส จำกัด (มหาชน) หรือ เอไอเอส ซึ่งเป็นผู้ให้บริการเครือข่ายโทรศัพท์มือถือที่ใหญ่ที่สุดในประเทศไทย และบริษัท ไมเนอร์ อินเตอร์เนชั่นแนล จำกัด (มหาชน) หรือไมเนอร์ ซึ่งเป็นหนึ่งในบริษัทในอุตสาหกรรมบริการ ร้านอาหาร และไลฟ์สไตล์ที่ใหญ่ที่สุดในภูมิภาคเอเชียแปซิฟิค ได้กลายเป็นพันธมิตรภาคธุรกิจกลุ่มแรกที่เข้าร่วมโครงการโมเดลโรงเรียน P-TECH (Pathways in Technology Early College High ...

หลุด!!! Vivo NEX 3 เผยถึงแรงบันดาลใจในการออกแบบสุดพรีเมียม

หลุด!!! Vivo NEX 3 เผยถึงแรงบันดาลใจในการออกแบบสุดพรีเมียม

Vivo ได้ปล่อยภาพหลุดออกมาอีกครั้ง โดยครั้งนี้เราจะได้เห็นถึงแรงบันดาลใจในการดีไซน์ของ Vivo NEX 3 อย่างลงตัวและดูพรีเมียม ไม่ว่าจะเป็นเรื่องของ หน้าจอ และกล้องหลัง และยังมีคลิปวิดีโอที่แสดงถึงการใช้งาน Vivo NEX 3 ออกมาเรียกน้ำย่อยกับคนดู  โดยเรามาลุ้นกันว่า Vivo NEX 3 สมาร์ตโฟนเรือธงจากแยรนด์ ...

ลูกค้า True ซื้อสินค้าบน App Store, Apple Music และ iTunes ตัดเงินผ่านเบอร์ Truemove H ทั้งเติมเงิน – รายเดือน ได้แล้ววันนี้

ลูกค้า True ซื้อสินค้าบน App Store, Apple Music และ iTunes ตัดเงินผ่านเบอร์ Truemove H ทั้งเติมเงิน – รายเดือน ได้แล้ววันนี้

ทรูมูฟ เอช เปิดโอกาสให้ลูกค้าเลือกชำระค่าสินค้าและบริการบน App Store, Apple Music และ iTunes ผ่านเบอร์ทรูมูฟ เอช ของลูกค้าได้ตั้งแต่ 1 กันยายน 2562 นี้เป็นต้นไป บริการชำระค่าสินค้าและบริการช่องทางใหม่นี้  เปิดให้บริการทั้งลูกค้าแบบรายเดือนและเติมเงิน โดยสามารถตัดเงินผ่านบิลโทรศัพท์ หรือยอดเงินคงเหลือในซิมเติมเงินได้  ...

AIS Fibre สะเทือนวงการ!! ด้วยแพ็กเกจ SUPER MESH WiFi เน็ตแรง 1Gbps/100 Mbps เริ่มต้น 999 บาทต่อเดือน คว้าสิทธิ์ถ่ายทอดสด Tokyo 2020

AIS Fibre สะเทือนวงการ!! ด้วยแพ็กเกจ SUPER MESH WiFi เน็ตแรง 1Gbps/100 Mbps เริ่มต้น 999 บาทต่อเดือน คว้าสิทธิ์ถ่ายทอดสด Tokyo 2020

เอไอเอส ไฟเบอร์ ตอกย้ำแนวคิด “เร็วกว่า ดีกว่า ง่ายกว่า” จากผู้นำอินเทอร์เน็ตบรอดแบนด์ ความเร็วสูงบนโครงข่ายไฟเบอร์ออพติกแท้ 100% ที่เข้าใจไลฟ์สไตล์คนไทยยุคดิจิทัลมากที่สุด ปลุกกระแสตลาดฟิกซ์บรอดแบนด์ในไทยให้ระอุอีกครั้ง ด้วยบริการจากแนวคิด “ดีกว่า” ที่จัดเต็มเพื่อลูกค้า · ส่งแพ็กเกจใหม่สุดเร้าใจ “SUPER MESH WiFi” ให้ความแรงเน็ตบ้านไฟเบอร์ 1 Gbps รายแรกและรายเดียวในไทย ที่มาพร้อม Nokia WiFi Beacon 1 (Mesh WiFi) มอบประสบการณ์ความเร็วแรงเน็ตบ้านไฟเบอร์เต็มสปีดอย่างแท้จริง ครอบคลุมทุกซอกทุกมุมในบ้าน กับราคาคุ้มค่าที่สุดในตลาด เริ่มต้นเพียง 999 ...

realme 5 และ realme 5 Pro เปิดตัวในไทยแล้ววันนี้!! ราคาเริ่มต้น 4,599 บาท พร้อมรับจองทันที

realme 5 และ realme 5 Pro เปิดตัวในไทยแล้ววันนี้!! ราคาเริ่มต้น 4,599 บาท พร้อมรับจองทันที

realme แบรนด์สมาร์ทโฟนเพื่อคนรุ่นใหม่ เปิดตัวสมาร์ทโฟน realme 5 และ realme 5 Pro ในประเทศไทยแล้ววันนี้ นับเป็นสมาร์ทโฟนรุ่นแรกของบริษัทฯ ที่มาพร้อมกล้องหลัง 4 ตัว และยังเป็นรุ่นแรกของสมาร์ทโฟนที่อยู่ในระดับเดียวกัน realme 5 มาพร้อมจอแสดงผล LCD (1600 ...

Nokia วางจำหน่ายหูฟังไร้สาย True Wireless Earbuds ในประเทศจีน ราคาราว 2,150 บาท

Nokia วางจำหน่ายหูฟังไร้สาย True Wireless Earbuds ในประเทศจีน ราคาราว 2,150 บาท

Nokia เปิดตัวหูฟังไร้สาย True Wireless Earbuds รุ่น BH-705 ในประเทศจีน พร้อมวางจำหน่ายแล้วผ่านร้านค้า Jingdong (JD.com) สนนราคา 499 หยวน หรือราว 2,150 บาท โดยมีให้เลือก 3 สี ...

Apple Watch จะได้รับฟีเจอร์ติดตามการนอนหลับ และระบบแจ้งเตือนให้ชาร์จแบตเตอรี่ก่อนเข้านอน

Apple Watch จะได้รับฟีเจอร์ติดตามการนอนหลับ และระบบแจ้งเตือนให้ชาร์จแบตเตอรี่ก่อนเข้านอน

Apple ถูกอ้างว่ากำลังพัฒนาฟีเจอร์ติดตามการนอนหลับ สำหรับใช้กับ Apple Watch โดยมีชื่อเรียกว่า "Time in Bed tracking" ช่วยให้ผู้ใช้งานสวมใส่ Apple Watch ก่อนเข้านอน เพื่อติดตามสุขภาพของการนอนหลับได้ เมื่อสวมใส่ Apple Watch ระหว่างนอนหลับ เซ็นเซอร์ต่างๆ ...

ข่าวดี!! Windows 10 เวอร์ชั่นใหม่ จะรองรับการติดตั้งผ่าน Cloud ไม่ต้องใช้ Flash Drive อีกต่อไป

ข่าวดี!! Windows 10 เวอร์ชั่นใหม่ จะรองรับการติดตั้งผ่าน Cloud ไม่ต้องใช้ Flash Drive อีกต่อไป

Microsoft เปิดตัว Windows 10 Insider Preview Build 18970 สำหรับผู้ใช้งานที่เข้าร่วมโปรแกรม Windows Insiders และอยู่ใน Fast ring โดยมีความน่าสนใจที่ฟีเจอร์ Cloud download ช่วยให้ผู้ใช้งานสามารถ Reset หรือติดตั้ง ...

ชมภาพเรนเดอร์ iPhone XIR หรือ iPhone XR รุ่นที่ 2 ในบอดี้สีแดง (PRODUCT)RED Special Edition

iPhone 11 หรือ iPhone XR เวอร์ชั่น 2019 ได้รับการทดสอบบนแอพ Geekbench ยืนยันมากับแรม 4GB

ทายาทของ iPhone XR ซึ่งคาดว่าจะเปิดตัวในชื่อ iPhone 11 ได้รับการทดสอบแล้วบนแอพพลิเคชั่น Geekbench โดยระบุชื่อรุ่นว่า iPhone12,1 มาพร้อมมาเธอร์บอร์ด N104AP ตรงกับรายงานของ 9to5Mac ที่อ้างว่า iPhone XR เวอร์ชั่น 2019 จะใช้รหัสรุ่น ...

Sony Xperia 2 ถูกปล่อยภาพเรนเดอร์ทางการออกมาแล้ว คาดเปิดตัวที่งาน IFA 2019 ปลายสัปดาห์นี้!!

Sony Xperia 2 ถูกปล่อยภาพเรนเดอร์ทางการออกมาแล้ว คาดเปิดตัวที่งาน IFA 2019 ปลายสัปดาห์นี้!!

สมาร์ทโฟนระดับเรือธง Sony Xperia 2 ถูกเผยโฉมออกมาแล้ว จากภาพเรนเดอร์ทางการที่รั่วไหลออกมา จึงคาดว่าจะได้รับการเปิดตัวที่งาน IFA 2019 ซึ่งจัดขึ้นในระหว่างวันที่ 6 - 11 กันยายนนี้ ที่กรุงเบอร์ลิน ของประเทศเยอรมนี ภาพหลุดชุดนี้ แสดงให้เห็นว่า Sony Xperia ...

OPPO A9 2020 จะมาพร้อมกล้องหลัง 4 ตัว และใช้ชิป Snapdragon 665 แรม 8GB

OPPO A9 2020 จะมาพร้อมกล้องหลัง 4 ตัว และใช้ชิป Snapdragon 665 แรม 8GB

เมื่อเดือนที่แล้ว OPPO ได้เปิดตัวสมาร์ทโฟน Reno2 series ที่มาพร้อมกล้องหลัง 4 ตัว และในอนาคตจะขยายระบบกล้องหลัง 4 ตัว ไปยัง A series ด้วย โดยมีรายงานว่า OPPO A9 2020 จะเป็นสมาร์ทโฟนรุ่นแรกของ ...

Xiaomi กำลังพัฒนาสมาร์ทโฟนอย่างน้อย 4 รุ่น ที่มาพร้อมกล้อง 108 ล้านพิกเซล

Xiaomi กำลังพัฒนาสมาร์ทโฟนอย่างน้อย 4 รุ่น ที่มาพร้อมกล้อง 108 ล้านพิกเซล

XDA Developers พบหลักฐานว่า Xiaomi กำลังพัฒนาสมาร์ทโฟนอย่างน้อย 4 รุ่น โดยมีโค้ดเนมว่า tucana, draco, umi และ cmi โดยสมาร์ทโฟนทั้ง 4 รุ่น สนับสนุนการเปิดรูปภาพที่มีความละเอียด 108 ล้านพิกเซล และสามารถเปิดตัวได้ภายใต้แบรนด์ ...

Samsung Galaxy A90 5G เปิดตัวแล้ว!! มาพร้อมชิป Snapdragon 855 กล้องหลัง 3 ตัว จอใหญ่ 6.7 นิ้ว

Samsung Galaxy A90 5G เปิดตัวแล้ว!! มาพร้อมชิป Snapdragon 855 กล้องหลัง 3 ตัว จอใหญ่ 6.7 นิ้ว

Samsung เปิดตัวสมาร์ทโฟน Galaxy A90 5G อย่างทางการแล้ว นับเป็นรุ่นแรกของ A series ที่รองรับเทคโนโลยี 5G โดยใช้ชิปโมเด็ม Snapdragon X50 5G และชิปประมวลผล Snapdragon 855 จาก Qualcomm ...

ภาพหลุด Huawei Watch GT 2 จอใหญ่ขึ้น ดีไซน์บางเบากว่าเดิม และอาจมาพร้อม HarmonyOS

ภาพหลุด Huawei Watch GT 2 จอใหญ่ขึ้น ดีไซน์บางเบากว่าเดิม และอาจมาพร้อม HarmonyOS

ภาพเรนเดอร์ทางการของ Huawei Watch GT 2 ถูกปล่อยออกมาแล้ว โดยเว็บไซต์ WinFuture ซึ่งเป็นแหล่งข่าวที่เชื่อถือได้ จึงคาดว่า Huawei อาจจะเปิดตัวสมาร์ทวอทช์รุ่นใหม่ พร้อมกับสมาร์ทโฟน Mate 30 series ภายในเดือนกันยายนนี้ จากภาพหลุดพอจะบอกได้ว่า Huawei Watch ...

ชาวสิงคโปร์ 2 คน พยายามซื้อ iPhone 7 ในสนามบิน แต่ต้องผิดหวังและมีสิทธิ์นอนคุก

รัฐบาลจีนถูกอ้างว่าอยู่เบื้องหลังการแฮก iPhone โดยมีเป้าหมายเป็นชาวอุยกูร์

สัปดาห์ที่แล้วมีรายงานว่า Google ค้นพบช่องโหว่ใน iPhone รุ่นเก่า ซึ่งช่วยให้แฮกเกอร์สามารถเจาะระบบ iPhone และขโมยข้อมูลได้ เพียงเจ้าของอุปกรณ์เปิดเข้าไปในเว็บไซต์ที่มีการฝังมัลแวร์เอาไว้ ที่น่าตกใจก็คือ ผู้ใช้ iPhone หลายพันคนอาจถูกขโมยข้อมูลส่วนตัวไปแล้วในช่วงระยะเวลา 2 ปีที่ผ่านมา (ปัจจุบัน Apple ออกซอฟต์แวร์มาอุดช่องโหว่ดังกล่าวแล้ว) Google ชี้แจ้งว่าช่องโหว่ที่พวกเขาค้นพบ ...

Tenga เปิดตัวหุ่นฟิกเกอร์ Mazinger Tenga Robo และ Getter Tenga Robo หนุ่มใหญ่รู้จักกันดี!!

Tenga เปิดตัวหุ่นฟิกเกอร์ Mazinger Tenga Robo และ Getter Tenga Robo หนุ่มใหญ่รู้จักกันดี!!

Tenga ผู้ผลิตอุปกรณ์ที่ช่วยสร้างความสุขให้กับผู้ชาย ก็มีของเล่นที่สามารถนำไปอวดคนอื่นได้อย่างไม่เขินอาย นั่นคือ Tenga Robo และล่าสุดได้เปิดตัว Tenga Robo อีก 2 รุ่นใหม่ โดยสร้างตามการ์ตูน Mazinger Z ที่เปิดตัวครั้งแรกในปี 1972 และ Getter Robo ...

OPPO Reno2 5G ผ่านการรับรองจากหน่วยงาน TENAA ยืนยันมาพร้อมเลนส์ซูมปริทรรศน์

OPPO Reno2 5G ผ่านการรับรองจากหน่วยงาน TENAA ยืนยันมาพร้อมเลนส์ซูมปริทรรศน์

OPPO Reno รุ่นแรกมีเวอร์ชั่น 5G วางจำหน่ายในบางประเทศด้วย แต่ Reno2 series ที่เปิดตัวทางการไปเมื่อปลายเดือนสิงหาคมที่ผ่านมา ไม่ได้ออกเวอร์ชั่น 5G อย่างไรก็ตาม คาดว่า OPPO จะเปิดตัวในอีกไม่นานนี้ เพราะผ่านการรับรองจากหน่วยงาน TENAA ในประเทศจีนแล้ว หน่วยงาน TENAA ...

ยลโฉม OPPO Find X ตัวเป็นๆทุกมุมมอง หน้าจอไม่มีรอยบาก กล้องแบบสไลด์ Snapdragon 845 แรม 8GB รอม 256GB เปิดตัวทางการคืนนี้ (ชมคลิป)

OPPO กำลังพัฒนาสมาร์ทโฟน ที่มาพร้อมจอแสดงผล 90Hz

ก่อนหน้านี้ Brian Shen รองประธานของ OPPO เคยออกมาเปิดเผยว่าบริษัทฯ กำลังพัฒนา เทคโนโลยีซ่อนกล้องเซลฟี่ไว้ใต้จอแสดงผล โดยไม่ต้องเจาะรูหรือทำรอยบาก ล่าสุดได้ออกมาเปิดเผยฟีเจอร์ใหม่อีกครั้งผ่านทาง Weibo Brian Shen ไม่ได้ระบุอย่างชัดเจนว่าสมาร์ทโฟนรุ่นถัดไปของ OPPO จะมาพร้อมจอแสดงผล ที่ให้อัตราการรีเฟรช 90Hz แต่ยืนยันว่าจอแสดงผลจะมีอัตราเฟรมที่ราบรื่นมากขึ้น พร้อมเปิดเผยว่าสมาร์ทโฟนรุ่นนี้ไม่ใช่แบรนด์ ...

Nintendo เปิดตัว Flip Cover Case สำหรับ Nintendo Switch Lite ราคาราว 1,090 บาท

Nintendo เปิดตัว Flip Cover Case สำหรับ Nintendo Switch Lite ราคาราว 1,090 บาท

เครื่องเล่นเกม Nintendo Switch Lite กำลังจะเริ่มวางจำหน่ายในเดือนกันยายนนี้ โดยถอดแบบมาจาก Nintendo Switch ที่เปิดตัวในปี 2017 มาพร้อมคอนโทรลเลอร์ Joy-Con ในตัว ที่ไม่สามารถถอดแยกได้ เนื่องจากถูกเน้นให้เล่นแบบพกพา ในเมื่อ Nintendo Switch Lite ถูกออกแบบมาให้เน้นพกพา ...

OPPO เปิดตัวหูฟังไร้สาย Enco Q1 รองรับ Active Noise Canceling มีไมโครโฟนช่วยตัดเสียง 4 ตัว

OPPO Enco Q1 หูฟังไร้สายที่มีระบบตัดเสียงรบกวน เริ่มวางขาย 10 กันยายนนี้ ราคาราว 2,560 บาท

OPPO เปิดตัวหูฟังไร้สายรุ่น Enco Q1 เมื่อปลายเดือนสิงหาคมที่ผ่านมา แต่ยังไม่ได้ประกาศราคาออกมา จนกระทั่งวันนี้ได้ยืนยันแล้วว่า Enco Q1 จะพร้อมวางจำหน่ายในประเทศจีน วันที่ 10 กันยายนนี้ ราคา 599 หยวน หรือราว 2,560 บาท มีให้เลือก ...

Vivo NEX 3 ถูกเปิดเผยสเปกอย่างเต็มรูปแบบ มาพร้อมชิป Snapdragon 855 Plus และมีเวอร์ชั่น 5G ให้เลือกด้วย

Vivo NEX 3 ถูกเปิดเผยสเปกอย่างเต็มรูปแบบ มาพร้อมชิป Snapdragon 855 Plus และมีเวอร์ชั่น 5G ให้เลือกด้วย

Vivo เริ่มส่งพรีเมี่ยมสมาร์ทโฟน NEX 3 ไปให้สื่อต่างประเทศได้สัมผัสแล้ว จึงคาดว่าจะสามารถเปิดตัวได้ภายในเดือนกันยายนนี้ และล่าสุดถูกเปิดเผยสเปกอย่างเต็มรูปแบบออกมาแล้ว โดยมาพร้อมเวอร์ชั่น 5G NEX 3 และ NEX 3 5G ใช้สเปกเดียวกัน แตกต่างกันเล็กน้อยที่ขนาดบอดี้กับน้ำหนัก แต่เล็กน้อยจริงๆ ทั้งคู่มาพร้อมจอแสดงผล 2256 ...

เผยคอนเซ็ปต์ Apple Glass แว่นตาอัจฉริยะ พร้อมคาดการณ์คุณสมบัติต่างๆ ที่คาดว่า Apple กำลังพัฒนา

พบชื่อโค้ดเนมแว่นตา AR ของ Apple ใน iOS 13 เวอร์ชั่น Beta ล่าสุด

Apple กำลังจะเปิดตัว iPhone รุ่นใหม่ในวันที่ 10 กันยายนนี้ ซึ่งอาจมาพร้อม Apple Watch Series 5 แต่ว่า Apple Watch อาจไม่ใช่อุปกรณ์สวมใส่เพียงอย่างเดียวที่ Apple จะวางจำหน่ายในไตรมาสสุดท้ายของปีนี้ นักพัฒนาซอฟต์แวร์ได้ขุดลงไปในโค้ดของ iOS 13 ...

ด้วยความห่วงใยจากใจ Truemove H ร่วมเป็นกำลังใจให้ประชาชนในพื้นที่ประสบภัยที่พายุโซนร้อน ‘โพดุล’

ด้วยความห่วงใยจากใจ Truemove H ร่วมเป็นกำลังใจให้ประชาชนในพื้นที่ประสบภัยที่พายุโซนร้อน ‘โพดุล’

ทรูมูฟ เอช ขอแสดงความห่วงใย และร่วมเป็นกำลังใจให้ประชาชนและผู้ปฎิบัติหน้าที่ในพื้นที่ประสบภัยที่ได้รับผลกระทบพายุโซนร้อน ‘โพดุล’ ให้สามารถผ่านพ้นสถานการณ์นี้ไปได้อย่างราบรื่นและปลอดภัย ทั้งนี้ เพื่อช่วยอำนวยความสะดวกด้านการสื่อสาร กลุ่มทรูได้ส่งทีมเจ้าหน้าที่ประจำภูมิภาค กระจายกำลังลงพื้นที่แจกซิมทรูมูฟ เอช พร้อมโทรฟรี เน็ตฟรีให้กับประชาชนในพื้นที่ประสบภัย  รวมทั้งมอบน้ำดื่ม อาหารแห้งและของใช้ที่จำเป็น ขณะที่ทีมเน็ตเวิร์คกลุ่มทรูได้ตั้งวอร์รูมติดตามสถานการณ์ในพื้นที่ทุกจังหวัดที่ได้รับผลกระทบอย่างใกล้ชิดแบบเรียลไทม์ตลอด 24 ชั่วโมง และส่งทีมวิศวกรเพิ่มเติมเข้าประจำสถานีชุมสาย เสริมกำลังระบบไฟฟ้า ...

dtac ลุยเข้าพื้นที่ดูแลสัญญาณ-เยียวยาลูกค้าเพื่อรองรับการใช้งานหลังพายุโพดุลกระหน่ำไทย พร้อมเฝ้าระวังผลกระทบดีเปรสชันใหม่อาจเคลื่อนเข้าไทย

dtac ลุยเข้าพื้นที่ดูแลสัญญาณ-เยียวยาลูกค้าเพื่อรองรับการใช้งานหลังพายุโพดุลกระหน่ำไทย พร้อมเฝ้าระวังผลกระทบดีเปรสชันใหม่อาจเคลื่อนเข้าไทย

บริษัท โทเทิ่ล แอ็คเซ็ส คอมมูนิเคชั่น จำกัด (มหาชน) หรือดีแทค เร่งรับมือผลกระทบจากพายุโพดุลที่พัดกระหน่ำเข้าไทย ทำให้ฝนตกหนักและน้ำท่วมฉับพลันหลายจังหวัด โดยจัดทีมดูแลโครงข่ายเข้าป้องกันสถานีชุมสายหลักและแก้ไขสถานีฐานที่ได้รับผลกระทบ เพื่อบรรเทาความเดือดร้อนของผู้ใช้งานโดยเฉพาะภาคอีสาน ดีแทคยังร่วมมือกับ กสทช. บรรเทาความเดือนร้อนผู้ใช้งาน 8 จังหวัดประสบภัย โดยลูกค้าเติมเงิน เพิ่มวันใช้งาน ฟรี  7 วัน กด *170#โทรออก  เพื่อรับสิทธิ์   เริ่มรับสิทธิ์ได้ตั้งแต่วันที่ ...

AIS และ กสทช. ห่วงใยลูกค้าภาคอีสานในพื้นที่ประสบภัยขยายระยะเวลาชำระค่าบริการให้สื่อสารได้สะดวกพร้อมส่งทีมวิศวกรดูแลเครือข่ายรับสถานการณ์อุทกภัยอย่างเต็มที่

AIS และ กสทช. ห่วงใยลูกค้าภาคอีสานในพื้นที่ประสบภัยขยายระยะเวลาชำระค่าบริการให้สื่อสารได้สะดวกพร้อมส่งทีมวิศวกรดูแลเครือข่ายรับสถานการณ์อุทกภัยอย่างเต็มที่

จากสถานการณ์อิทธิพลพายุโซนร้อนโพดุลที่ทำให้เกิดฝนตกหนักต่อเนื่องหลายชั่วโมง จนส่งผลให้มีน้ำท่วมในหลายพื้นที่ของไทย โดยเฉพาะภาคอีสาน ส่งผลกระทบต่อความปลอดภัยและการใช้ชีวิตของประชาชนจนถึงปัจจุบันนั้น AIS  และ  กสทช.  มีความห่วงใยต่อสถานการณ์ที่เกิดขึ้นเป็นอย่างยิ่ง จึงยังคงเฝ้าระวังติดตามสถานการณ์อย่างใกล้ชิด โดยเตรียมความพร้อมทั้งด้านเครือข่าย อุปกรณ์ปั่นไฟ น้ำมัน และบุคลากร เพื่อดูแลเครือข่ายให้ยังคงพร้อมให้บริการติดต่อสื่อสารได้อย่างดีที่สุด พร้อมระดมทีมวิศวกรผู้เชี่ยวชาญจากส่วนกลางและภูมิภาคเข้าดูแลสถานีฐานในพื้นที่ประสบภัยอย่างใกล้ชิด ตั้งแต่ช่วงเริ่มต้นสถานการณ์พายุจนถึงปัจจุบัน ซึ่งขณะนี้สถานการณ์ดีขึ้นเป็นลำดับ อย่างไรก็ตาม เพื่อบรรเทาความเดือดร้อนสำหรับลูกค้าเอไอเอส ที่ได้รับผลกระทบใน 8 จังหวัด ได้แก่ ร้อยเอ็ด, สกลนคร, มุกดาหาร,อุดรธานี, นครพนม, อำนาจเจริญ, กาฬสินธุ์ และยโสธร ...

ชมวีดีโอพรีวิว Vivo NEX 3 เครื่องจริง!! ก่อนเปิดตัวในจีน 16 กันยายน และเปิดตัวในอินเดียปลายเดือนตุลาคมนี้

ชมวีดีโอพรีวิว Vivo NEX 3 เครื่องจริง!! ก่อนเปิดตัวในจีน 16 กันยายน และเปิดตัวในอินเดียปลายเดือนตุลาคมนี้

สมาร์ทโฟนระดับพรีเมี่ยม Vivo NEX 3 ถูกพูดถึงเป็นอย่างมากในฐานะสมาร์ทโฟนที่มีดีไซน์โดดเด่น และคาดกันว่าจะได้รับการเปิดตัวทางการในเร็วๆ นี้ ล่าสุดแหล่งข่าวอ้างว่า Vivo จะเปิดตัว NEX 3 ในประเทศจีน วันที่ 16 กันยายน ก่อนเปิดตัวในประเทศอินเดียช่วงปลายเดือนตุลาคมนี้ ถ้าหาก Vivo NEX ...

ด่วน!! Apple ประกาศเรียกคืนและเปลี่ยน MacBook Pro ขนาด 15 นิ้ว บางรุ่น จากปัญหาแบตเตอรี่

MacBook Pro ที่ Apple เรียกคืน ถูกแบนจากสายการบินมากกว่า 10 แห่ง มีสายการบินอะไรบ้าง ตรวจสอบได้ที่นี่!!

ย้อนกลับไปในช่วงปลายเดือนมิถุนายนที่ผ่านมา Apple ได้ประกาศเรียกคืน MacBook Pro รุ่น 15 นิ้ว ที่วางจำหน่ายระหว่างเดือนกันยายน 2015 ถึงเดือนกุมภาพันธ์ 2017 เนื่องจากอาจมีปัญหาเกี่ยวกับแบตเตอรี่ร้อนเกินไป และเสี่ยงต่อการเกิดอันตราย หลังจากนั้น MacBook Pro ที่ได้รับผลกระทบจากการเรียกคืน ก็ถูกแบนจากสำนักงานบริหารการบินแห่งชาติของสหรัฐอเมริกา (FAA) ...

วิธีใช้ Audio Sharing ฟังเสียงจาก AirPods มากกว่า 1 คู่ จาก iPhone หรือ iPad เครื่องเดียวกัน

วิธีใช้ Audio Sharing ฟังเสียงจาก AirPods มากกว่า 1 คู่ จาก iPhone หรือ iPad เครื่องเดียวกัน

Audio Sharing เป็นหนึ่งในฟีเจอร์ใหม่ที่มาพร้อม iOS 13 และ iPadOS 13 ช่วยให้เจ้าของ iPhone หรือ iPad แชร์เสียงให้กับเพื่อนๆ ที่มี AirPods หรือ Powerbeats Pro เพื่อให้พวกเขาฟังเพลง หรือ ...

สรุปทุกข้อมูลของ iPhone 11 ที่จะเปิดตัว 10 กันยายนนี้ มีอะไรน่าสนใจบ้างรวมไว้ให้แล้ว

สรุปทุกข้อมูลของ iPhone 11 ที่จะเปิดตัว 10 กันยายนนี้ มีอะไรน่าสนใจบ้างรวมไว้ให้แล้ว

Apple กำลังจะเปิดตัว iPhone รุ่นใหม่ ในวันที่ 10 กันยายนนี้ และเช่นเคย Apple ยังไม่ได้ออกมาเปิดเผยหรือให้ข้อมูลใดๆ เกี่ยวกับผลิตภัณฑ์ที่กำลังจะมาถึง แต่ก็ไม่ได้หยุดการรั่วไหลของข่าวลือต่างๆ และต่อไปนี้เป็นการสรุปข้อมูลทั้งหมดของ iPhone รุ่นใหม่ในปีนี้ อ้างอิงจากข่าวลือในช่วง 2 - 3 เดือนที่ผ่านมา ...

วิธีใช้แอพ Find My ค้นหา iPhone, iPad หรือ Mac ที่สูญหาย แม้ว่าอุปกรณ์เหล่านั้นจะออฟไลน์อยู่ก็ตาม

วิธีใช้แอพ Find My ค้นหา iPhone, iPad หรือ Mac ที่สูญหาย แม้ว่าอุปกรณ์เหล่านั้นจะออฟไลน์อยู่ก็ตาม

ในระบบปฏิบัติการ iOS 13 และ macOS Catalina ได้มีการรวมแอพพลิเคชั่น Find My iPhone กับ Find My Friends เข้าไว้ด้วยกัน และเรียกใหม่ว่า Find My โดยมีจุดเด่นที่สามารถติตาม iPhone, ...

ภาพหลุดกล่อง Samsung Galaxy A90 5G เปิดเผยสเปกที่ติดอยู่ใต้กล่อง

ภาพหลุดกล่อง Samsung Galaxy A90 5G เปิดเผยสเปกที่ติดอยู่ใต้กล่อง

Samsung ถูกลือว่ากำลังพัฒนาสมาร์ทโฟนรุ่นใหม่ Galaxy A90 5G และภาพหลุดล่าสุดก็ช่วยยืนยันว่าข่าวลือดังกล่าวน่าจะเป็นเรื่องจริง ถึงแม้จะยังไม่มีภาพหลุดเครื่องจริงของสมาร์ทโฟน แต่ก็มีภาพหลุดกล่องบรรจุภัณฑ์รั่วไหลออกมาแล้ว บนกล่องมีการสกรีนรูปภาพของ Samsung Galaxy A90 5G และใต้กล่องมีการระบุสเปกเอาไว้ด้วย โดยบอกว่าจะมาพร้อมจอแสดงผล Full HD+ Super AMOLED ขนาด ...

ยืนยันแล้ว!! Huawei Mate 30 series เปิดตัวทางการ 19 กันยายนนี้

ยืนยันแล้ว!! Huawei Mate 30 series เปิดตัวทางการ 19 กันยายนนี้

Huawei Mobile ประกาศวันเปิดตัวพรีเมี่ยมสมาร์ทโฟน Huawei Mate 30 series อย่างทางการในวันที่ 19 กันยายนนี้ โดยจะจัดงานขึ้นที่เมืองมิวนิค ประเทศเยอรมนี ซึ่งอดีตเรือธงอย่าง Mate 9 และ Mate 10 ก็เปิดตัวครั้งแรกในประเทศเยอรมนีเช่นเดียวกัน ก่อนจะย้ายไปกรุงลอนดอน ...

ASUS เปิดตัวกลุ่มผลิตภัณฑ์โน้ตบุ๊กใหม่มาพร้อมซีพียูล่าสุดจาก AMD  ส่งมอบความคุ้มค่าในราคาสุดประหยัด

ASUS เปิดตัวกลุ่มผลิตภัณฑ์โน้ตบุ๊กใหม่มาพร้อมซีพียูล่าสุดจาก AMD ส่งมอบความคุ้มค่าในราคาสุดประหยัด

บริษัทเอซุส (ประเทศไทย) จำกัดเปิดตัวกลุ่มผลิตภัณฑ์โน้ตบุ๊กที่มาพร้อมซีพียูล่าสุดจากAMDได้แก่ Asus ZenBook 14 (UM431DA), Asus ZenBook Flip 14 (UM462DA) , Asus Laptop 14/15 (M409DA / M509DA), Asus ...

Master Card ร่วมกับ KTC เปิดตัวเทคโนโลยีการเข้ารหัสโทเค็น เป็นครั้งแรกในเอเชียตะวันออกเฉียงใต้

Master Card ร่วมกับ KTC เปิดตัวเทคโนโลยีการเข้ารหัสโทเค็น เป็นครั้งแรกในเอเชียตะวันออกเฉียงใต้

มาสเตอร์การ์ด ผู้นำด้านเทคโนโลยีการชำระเงินระดับโลก เปิดเผยในวันนี้ว่า เคทีซี หรือ บริษัท บัตรกรุงไทย จำกัด (มหาชน) เป็นผู้ออกบัตรเครดิตชั้นนำรายแรกในเอเชียตะวันออกเฉียงใต้ที่เปิดตัวโซลูชั่นการชำระเงินออนไลน์แบบเข้ารหัสโทเค็นด้วยเทคโนโลยี ‘Mastercard Digital Enablement Services (MDES) for Merchants’ MDES ของมาสเตอร์การ์ด คือเทคโนโลยีการเข้ารหัสโทเค็นที่ให้ความสำคัญกับผู้บริโภค ช่วยให้ผู้ออกบัตรสามารถใช้รหัสดิจิทัลโทเค็นแทนหมายเลขบัญชีที่มีความอ่อนไหว ทำให้ประสบการณ์การชำระเงินมีความปลอดภัยและราบรื่นยิ่งขึ้น ...

Samsung จับมือ ท่าอากาศยานไทย เปิดตัว AOT Digital Platform ยกระดับการให้บริการแก่ผู้โดยสายแบบครบวงจร

Samsung จับมือ ท่าอากาศยานไทย เปิดตัว AOT Digital Platform ยกระดับการให้บริการแก่ผู้โดยสายแบบครบวงจร

บริษัท ไทยซัมซุง อิเลคโทรนิคส์ จำกัด และบริษัทพันธมิตรคู่ค้า นำโดย มร. เดวิด คิม (ซ้าย) รองประธานกลุ่มธุรกิจลูกค้าองค์กร ซัมซุง อิเลคโทรนิคส์ จับมือกับ บริษัท ท่าอากาศยานไทย จำกัด (มหาชน) โดย ดร. นิตินัย ศิริสมรรถการ ...

dtac ชี้แจงจำนวนสถานีฐานล่าสุดมากกว่า 9หมื่นสถานีเพื่อให้บริการลูกค้า

dtac ชี้แจงจำนวนสถานีฐานล่าสุดมากกว่า 9หมื่นสถานีเพื่อให้บริการลูกค้า

ตามที่มีการกล่าวพาดพิงถึงจำนวนสถานีฐานของดีแทคในงานแถลงข่าวของเอไอเอสที่จัดขึ้น ณ จังหวัดสงขลา เมื่อวันที่ 15-16 สิงหาคม 2562 นั้น ตามที่มีภาพจากงานแถลงข่าวดังกล่าวปรากฏตามสื่อสังคมออนไลน์ต่างๆ   ดีแทคขอชี้แจงในส่วนของภาพที่แสดงจำนวนสถานีฐานที่นำมาแสดงในงานแถลงข่าวดังกล่าวว่ามีการให้ข้อมูลที่คลาดเคลื่อนในส่วนจำนวนสถานีฐานของดีแทค กล่าวคือ ภาพดังกล่าวเป็นการนำเสนอข้อมูลจำนวนสถานีฐานเฉพาะคลื่นความถี่ย่าน 2100 MHz ของดีแทคเท่านั้น ซึ่งแตกต่างกับข้อเท็จจริงที่ ณ ปัจจุบันดีแทคได้ให้บริการบนคลื่นความถี่ทั้งหมดรวม 4 คลื่นความถี่ ได้แก่ ย่าน 850 MHz, 1800MHz, 2100 MHz และบนคลื่นย่าน 2300 MHz*  ซึ่งดีแทคมีจำนวนสถานีฐานมากกว่า 90,000 สถานี (ข้อมูล ณ ไตรมาส 2/2562) ทั้งนี้ ดีแทคยังมีแผนขยายโครงข่ายอย่างต่อเนื่องเพื่อให้บริการลูกค้าทั่วไทย การบริการ/คลื่นสัญญาณจำนวนสถานีฐาน ณ ...

รีวิว Galaxy Note 10 และ Galaxy Note 10+ สุดยอดสมาร์ทโฟนสเปกโหด มาพร้อม S Pen อัจฉริยะ กล้องเทพที่สุดของ Samsung

รีวิว Galaxy Note 10 และ Galaxy Note 10+ สุดยอดสมาร์ทโฟนสเปกโหด มาพร้อม S Pen อัจฉริยะ กล้องเทพที่สุดของ Samsung

Samsung ยกระดับพรีเมี่ยมสมาร์ทโฟน Galaxy Note series ให้ก้าวขึ้นไปอีกขั้นกับ Galaxy Note 10 และ Galaxy Note Note 10+ เป็นครั้งแรกที่ซีรีย์โน็ตมีให้เลือก 2 ขนาดหน้าจอ แต่ยังคงประสบการณ์การใช้งานรอบด้านที่สมบูรณ์แบบ สมกับเป็นสมาร์ทโฟนที่ดีที่สุดของปีจาก Samsung ...

Page 580 of 1319 1 579 580 581 1,319