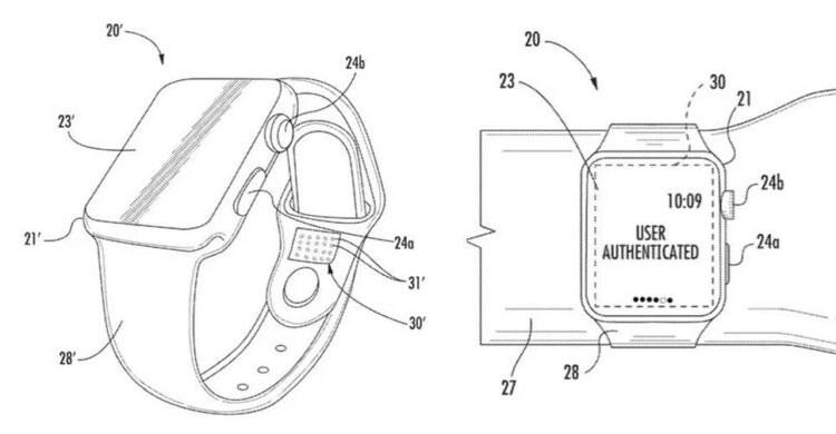
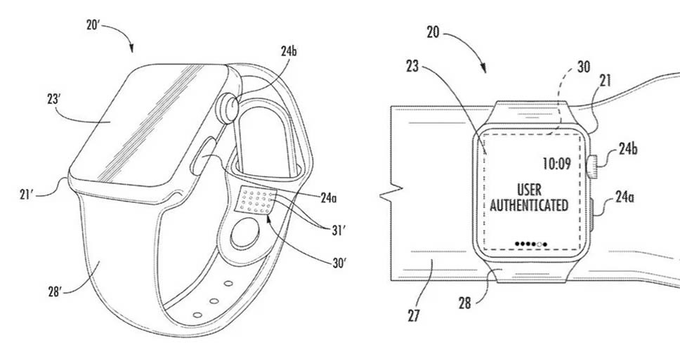
Apple จดสิทธิบัตรสาย Apple Watch เพิ่มอีก 3 รายการ แสดงให้เห็นว่า Apple มีแนวคิดเพิ่มความฉลาดให้กับสาย Apple Watch ในอนาคต โดยสิทธิบัตรแรก เผยให้เห็นถึงฟีเจอร์ Wrist ID ซึ่งเป็นวิธียืนยันตัวตนด้วยเซ็นเซอร์ทางไบโอเมตริกซ์
สาย Apple Watch จะมีการติดตั้งเซ็นเซอร์ทางไบโอเมตริกซ์ ทำให้สามารถระบุและจดจำข้อมือของผู้สวมใส่ได้ ทั้งลักษณะผิวหนังและขนบนข้อมือ เมื่อสวมใส่ Apple Watch ไว้ที่ข้อมือก็จะช่วยปลดล็อคให้อัตโนมัติ จึงถูกเรียกว่า Wrist ID
สิทธิบัตรอีกฉบับ แสดงให้เห็นว่า Apple จะเพิ่มความเป็นส่วนตัวให้กับเจ้าของ Apple Watch โดยใช้ตัวบ่งชี้ เพื่อบอกถึงความคืบหน้าในการติดตามสุขภาพ แทนการแสดงข้อมูลบนหน้าปัดโดยตรง ซึ่งจะเพิ่มความเป็นส่วนตัวให้กับผู้สวมใส่ ให้สามารถตรวจสอบความคืบหน้าได้ โดยไม่ต้องการให้คนที่อยู่ใกล้เคียงมองเห็นข้อมูลส่วนตัว เนื่องจากมีผู้ใช้งานบางรายที่อาจต้องการเก็บข้อมูลสุขภาพไว้เป็นความลับ
สิทธิบัตรฉบับที่ 3 ก็มีความน่าสนใจไม่แพ้กัน โดยระบุว่า สาย Apple Watch จะสามารถปรับขนาดให้พอดีกับข้อมือของผู้สวมใส่โดยอัตโนมัติ ซึ่งหมายถึงจะเพิ่มความกระชับในกรณีที่เริ่มออกกำลังกาย และแน่นอนว่าต้องเพิ่มกลไกไว้ในสาย Apple Watch
ที่มา – 9to5Mac
https://www.flashfly.net/wp/265545







