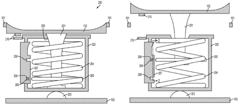
ข่าวนี้ถือได้ว่าข่าวดีสำหรับคอเกมที่เป็นสาวก iPhone ทุกคน เพราะมีรายงานว่า Apple ได้จดสิทธิบัตรในการเปลี่ยนปุ่ม Home หรือปุ่ม Touch ID ให้กลายเป็น Joystick สำหรับเล่นเกมได้ทันที ซึ่งการใช้งานก็แสนง่ายเพียงแค่กดปุ่ม Home ลงไปแล้วตัวแกน Joystick ก็จะเด้งขึ้นมาใช้งานได้เหมือนเครื่องเล่นเกมพกพาแล้ว เลิกใช้ก็เพียงกดลงไปเท่านั้น
ขาดก็แต่เพียงปุ่ม A B X Y เท่านั้น ซึ่งต้องใช้เป็นระบบสัมผัสแทนอยู่แบบเดิม แต่การที่ใช้ปุ่ม Home เป็น Joystick ได้นั้นก็จะช่วยให้อรรถรสการเล่นเกมดียิ่งขึ้นไปอีกเพราะช่วยลดปัญหานิ้วมาบังหน้าจอขณะเล่นเกมให้หงุดหงิด และที่น่าสนใจคือสิทธิบัตรนี้จะครอบคลุมไปถึง iPad และ iPod Touch อีกด้วย
ที่มา – macrumors
http://www.flashfly.net/wp/?p=110859







