Apple จดสิทธิบัตร Haptic Engine รุ่นใหม่ ทนทานต่อแรงกระแทก
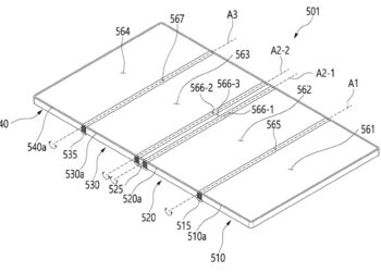
Apple ได้รับสิทธิบัตรใหม่จากสำนักงานสิทธิบัตรและเครื่องหมายการค้าสหรัฐอเมริกา แสดงให้เห็นการออกแบบ Haptic Engine ที่ทนทานต่อแรงกระแทก เพื่อพัฒนาความทนทานของ Taptic Engine ใน iPhone, Apple Watch และอุปกรณ์อื่นๆ ในอนาคต




















































