สำนักสิทธิบัตรและเครื่องหมายการค้าแห่งสหรัฐอเมริกา รับรองสิทธิบัตร iPhone พับได้ ให้กับ Apple อีกฉบับ ซึ่งมีดีไซน์ที่ต่างไปจากสิทธิบัตรที่ Apple ได้รับการรับรองเมื่อวันที่ 1 พฤศจิกายนที่ผ่านมา สำหรับ iPhone พับได้ ในสิทธิบัตรล่าสุดจะใช้จอแสดงผล OLED สามารถพับลงได้ครึ่งหนึ่ง เหมือนโทรศัพท์มือถือรูปทรงฝาพับ
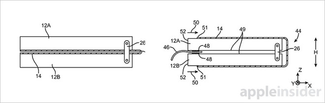
โครงสร้างตัวเครื่องของ iPhone พับได้ ใช้วัสดุที่แตกต่างไปจาก iPhone ในปัจจุบัน ข้อมูลในสิทธิบัตรระบุว่าจะใช้ Nitinol ซึ่งเกิดจาก Nickel กับ Titanium alloy ส่วนฮาร์ดแวร์ก็เหมือนกับ iPhone ทั่วไป คือมีทั้งกล้องดิจิตอล, ลำโพง, เซ็นเซอร์วัดแสง, ไมโครโฟน, มอเตอร์ระบบสั่น, โปรเซสเซอร์ และ จีพียู
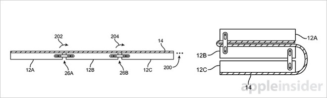
ในสิทธิบัตรล่าสุด ยังพบว่ามีอีกดีไซน์ที่สามารถพับ iPhone ได้ถึง 3 ทบ ซึ่งมีความเป็นไปได้ที่ iPhone ในอนาคตจะสามารถกางออกมาจนมีขนาดจอแสดงผลเท่า iPad
iPhone 8 ที่กำลังจะมาถึงในปี 2017 ถูกลือว่าจะใช้จอแสดงผล OLED ที่มีคุณสมบัติยืดหยุ่นได้ แต่เชื่อว่ายังเร็วเกินไปที่จะถูกออกแบบมาให้พับได้เหมือนในสิทธิบัตรล่าสุดนี้
ที่มา – MacRumors
http://www.flashfly.net/wp/?p=165273










