เผยภาพร่างสมาร์ทโฟนพับได้จากค่าย Nokia ซึ่งเคยยื่นจดไว้กับสำนักงานสิทธิบัตรและเครื่องหมายการค้าของสหรัฐอเมริกา ในปี 2013 แต่ถูกเผยแพร่ออกมาเมื่อเดือนกันยายน 2016 และยังพบว่าก่อนหน้านี้ Nokia เคยยื่นจดเทคโนโลยีจอแสดงผลพับได้ไว้ตั้งแต่ปี 2005
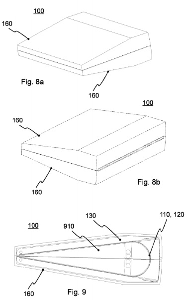
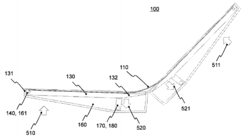
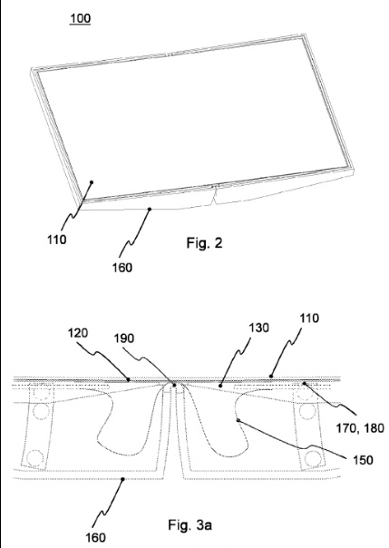
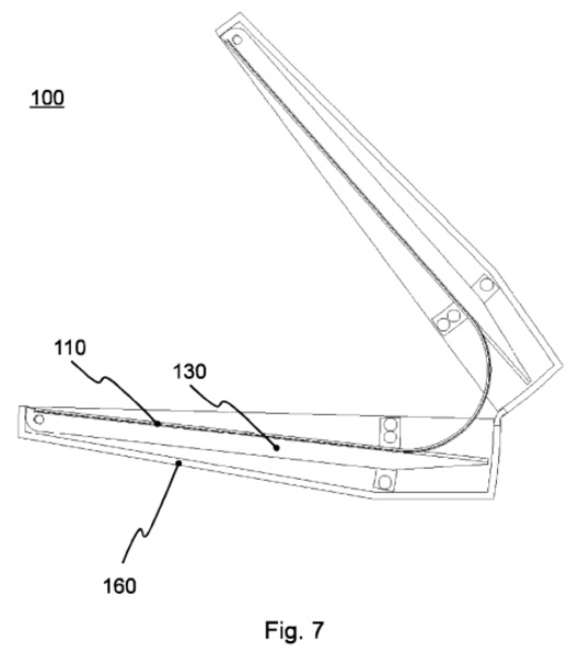
จากสิทธิบัตรของ Nokia ทำให้เราเห็นการออกแบบสมาร์ทโฟนที่มีลักษณะคล้ายโน้ตบุ๊คย่อส่วน หรือจะบอกว่าคล้ายตลับแป้งก็ได้ เมื่อกางออกมาจะมีขนาดจอแสดงผล 6 – 8 นิ้ว และเวลาปิดฝายังมีตัวล็อคที่คล้ายกับโน้ตบุ๊ครุ่นเก่าๆ ด้วย
อย่างไรก็ตาม Nokia ยังไม่ได้ออกมาพูดถึงแนวคิดสมาร์ทโฟนพับได้แต่อย่างใด แต่ที่ชัดเจนมากที่สุดเห็นจะเป็น Samsung ที่มีข่าวว่าจะเปิดตัวสมาร์ทโฟนพับได้ภายในไตรมาสที่ 3 และ LG จะเปิดตัวในไตรมาสสุดท้ายของปีนี้
ที่มา – Gizmochina
http://www.flashfly.net/wp/?p=170670

















