บริษัทวิจัยตลาด Strategy Analytics เคยออกมาประเมินว่าอุปกรณ์พับได้จะถูกผลิตออกมา 2.7 ล้านเครื่องภายในปีนี้ และจะขยายไปถึง 163 ล้านเครื่องภายในปี 2022 ขณะที่ The Investor สำนักข่าวจากเกาหลีใต้ รายงานว่า Samsung จะเป็นบริษัทแรกในตลาดที่แนะนำสมาร์ทโฟนพับได้ พร้อมเปิดตัวทางการในไตรมาสที่ 3 ปีนี้ ขณะที่ LG จะเปิดตัวในไตรมาสที่ 4 และทั้ง 2 บริษัทตั้งเป้ายอดขายไว้ที่ 100,000 เครื่องเท่ากัน
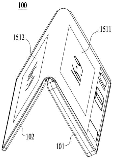
ก่อนหน้านี้เราเคยเห็นสิทธิบัตรสมาร์ทโฟนพับได้ของ Samsung มาบ้างแล้ว คราวนี้มาดูแนวคิดสมาร์ทโฟนพับได้ของ LG กันบ้าง จากสิทธิบัตรที่ถูกเปิดเผยออกมาล่าสุด แสดงให้เห็นอุปกรณ์ที่พับได้ 2 ส่วน เมื่อกางออกมาจะทำให้จอแสดงผลกว้างขึ้นเป็น 2 เท่าของขนาดอุปกรณ์ ขณะที่ด้านหลังมีการติดตั้งกล้องดิจิตอล ทำหน้าที่เป็นทั้งกล้องตัวหลัก รวมถึงใช้ถ่ายเซลฟี่ และมีปุ่ม Rear Key เหมือนที่เราเคยเห็นในสมาร์ทโฟน G series
เมื่อสมาร์ทโฟนถูกพับ ส่วนขอบจอแสดงผลจะถูกใช้เป็นปุ่มปรับระดับเสียง ขณะที่บานพับเหมือนมีกลไกให้สามารถกางอุปกรณ์ให้ลาดเอียงเพื่อใช้ดูวีดีโอในแนวนอน และส่วนขอบก็จะแสดงปุ่มควบคุมเครื่องเล่นมีเดีย นอกจากนี้ยังสามารถวางอุปกรณ์ในรูปแบบ Tent ได้อีกด้วย
นอกจาก Samsung กับ LG เรายังพบว่า Nokia กับ Microsoft ก็มีสิทธิบัตรอุปกรณ์พับได้ของตัวเองเช่นกัน ขณะที่ Lenovo ก็เคยเผยโฉมต้นแบบอุปกรณ์พับได้มาแล้ว
ที่มา – Gsmarena
http://www.flashfly.net/wp/?p=171050












