แหล่งข่าวตั้งข้อสังเกตว่า Samsung Galaxy Note 8 มีความเป็นไปได้สูงที่จะได้รับการติดตั้งกล้องดิจิตอลแบบเลนส์คู่ โดยพิจารณาจากการที่ Samsung เข้าไปลงทุนกับ Core Photonics บริษัทในประเทศอิสราเอล ซึ่งเป็นผู้ผลิตโมดูลกล้องเลนส์คู่
ล่าสุดยังพบว่า Samsung ได้จดสิทธิบัตรโมดูลกล้องเลนส์คู่ในเกาหลีใต้แล้ว แสดงให้เห็นว่า Samsung กำลังพัฒนากล้องเลนส์คู่มาใช้กับสมาร์ทโฟนรุ่นใหม่ในอนาคต ซึ่งจากภาพหลุด Galaxy S8 ที่เคยถูกแชร์ออกมา ดูเหมือนว่าจะมากับกล้องตัวเดียว ดังนั้น ถ้าเราโชคดี Galaxy Note 8 ที่กำลังจะเปิดตัวในปลายปีนี้ อาจมาพร้อมกล้องดิจิตอลเลนส์คู่ก็เป็นได้
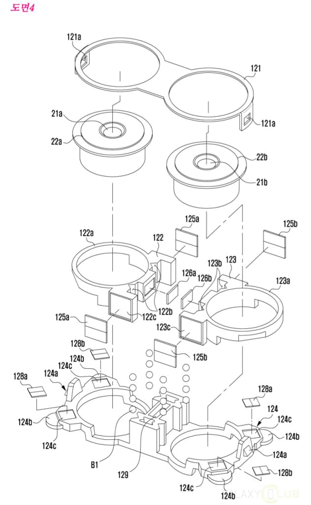
จากสิทธิบัตร เราจะเห็นเลนส์กล้องทั้ง 2 ตัว ถูกวางรวมไว้ในโมดูลเดียวกัน ช่วยเพิ่มประสิทธิภาพในการถ่ายรูปบริเวณแสงน้อย สามารถจับภาพแล้วจำลองเป็น 3 มิติ และสามารถทำให้ระบบซอฟต์แวร์ของกล้องรับรู้ระยะทางได้ นอกจากนี้ในสิทธิบัตรยังพูดถึงส่วนประกอบอื่นๆ เกี่ยวกับการจัดตำแหน่งของแม่เหล็ก, แกน และ เลนส์ ซึ่งคาดว่าจะถูกนำไปใช้ประโยชน์ในการซูม และสร้างความเสถียรภาพหรือชดเชยการสั่นไหวในระหว่างถ่ายภาพ
ที่มา – GalaxyClub
http://www.flashfly.net/wp/?p=178792











