Apple ได้เปิดตัวกล่องชาร์จ AirPods รุ่นใหม่เมื่อเดือนกันยายนที่ผ่านมา โดยออกแบบมาให้รองรับการชาร์จไร้สาย แต่ยังไม่พร้อมวางจำหน่ายจนถึงตอนนี้ ล่าสุดมีรายงานว่ากล่องชาร์จ AirPods ในอนาคต จะสามารถชาร์จแบตเตอรี่พร้อมกับเชื่อมต่อกับลำโพง Bluetooth ได้อีกด้วย ตามสิทธิบัตรที่ถูกเปิดเผยออกมาโดยสำนักงานสิทธิบัตรและเครื่องหมายการค้าของสหรัฐอเมริกา
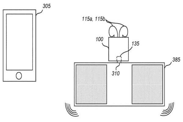
สิทธิบัตรกล่องชาร์จ AirPods ได้อธิบายว่า กล่องชาร์จหูฟังไร้สาย สามารถกำหนดค่าเพื่อสตรีมมิ่งสื่อจากหูฟังแล้วส่งต่อไปยังลำโพง นั่นหมายถึงในระหว่างที่เสียบกล่องชาร์จ AirPods เข้ากับลำโพง ผู้ใช้งานยังสามารถฟังเพลงได้อย่างต่อเนื่อง โดยเสียงที่ขับผ่านจากตัวหูฟังจะถ่ายทอดออกไปยังตัวลำโพง
สิทธิบัตรได้อธิบายเพิ่มเติมว่า กล่องชาร์จอาจประกอบไปด้วยวิทยุไร้สายของตัวเอง ที่สามารถสื่อสารแบบไร้สายกับหูฟัง เมื่อหูฟังไม่ได้อยู่ในกล่องชาร์จ และกล่องชาร์จอาจมีพอร์ต Input เพื่อรับสัญญาณวิทยุจากแหล่งอื่นแบบมีสาย และสามารถส่งต่อสัญญาณเสียงไปยังหูฟังได้ด้วย
อย่างไรก็ตาม ยังไม่มีรายงานว่า Apple ได้นำเทคโนโลยีในสิทธิบัตรมาผลิตเป็นผลิตภัณฑ์เพื่อทดสอบแล้วหรือยัง
ที่มา – Cult of Mac
http://www.flashfly.net/wp/?p=215732








