ย้อนกลับไปเมื่อ 3 ปีก่อน Apple เคยได้รับสิทธิบัตรดีไซน์ iPhone ที่ใช้จอโค้งและครอบคลุมไปถึงด้านข้าง โดยปุ่มกดแบบ Physical ที่เคยอยู่ส่วนขอบ ถูกแทนที่ด้วยปุ่มเสมือนจริงของจอแสดงผล และล่าสุด Apple ได้รับการอนุมัติสิทธิบัตรฉบับใหม่ ซึ่งเป็นการตอกย้ำดีไซน์เดียวกันนี้ โดยมีชื่อสิทธิบัตรว่า “Electronic device with wrap-around housing.”
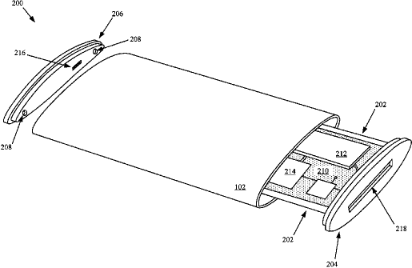
สิทธิบัตรที่ Apple ได้รับล่าสุด ถูกยื่นจดเมื่อเดือนพฤษภาคม 2016 กับทางสำนักงานสิทธิบัตรและเครื่องหมายการค้าของสหรัฐฯ มีหมายเลข 9983630 ซึ่งมีส่วนคล้ายกับสิทธิบัตรการออกแบบที่ได้รับในปี 2015 แสดงให้เห็นถึง iPhone ที่ใช้จอแสดงผลแบบยืดหยุ่น พันรอบตัวเครื่อง โดย Apple ได้อธิบายว่า พื้นผิวด้านนอกที่มีความโค้งนั้นเป็นบอดี้แบบชิ้นเดียว มีคุณสมบัติโปร่งแสง ส่วนแกนกลางจะเป็นฮาร์ดแวร์หรือแผงวงจรหลัก
ถึงแม้ Apple จะจดสิทธิบัตรการออกแบบ iPhone ในลักษณะนี้ไว้ 2 ฉบับแล้ว แต่ยังไม่มีความชัดเจนว่า Apple จะพร้อมนำมาใช้งานเมื่อใด อย่างไรก็ตาม เราเคยเห็นคอนเซ็ปต์ iPhone ที่ถูกห่อหุ้มด้วยจอแสดงผลรอบด้านมาแล้ว (ตามคลิปวีดีโอด้านล่าง) ซึ่งผู้ออกแบบเชื่อว่าเราอาจได้เห็นของจริงในปี 2020 หรืออีก 2 ปีข้างหน้า
http://www.flashfly.net/wp/?p=219309











