Apple Watch เป็นหนึ่งในผลิตภัณฑ์ที่อยู่ในแผนของ Apple และยังคงได้รับการพัฒนาอย่างต่อเนื่อง ซึ่งในรุ่นใหม่ที่จะมาถึงในอนาคตอันใกล้นี้ ถูกอ้างว่าจะใส่ใจในเรื่องสุขภาพของผู้ใช้งานมากยิ่งขึ้น โดยสิทธิบัตรที่ถูกเปิดเผยออกมาล่าสุดก็ตอกย้ำความเชื่อนั้นได้เป็นอย่างดี
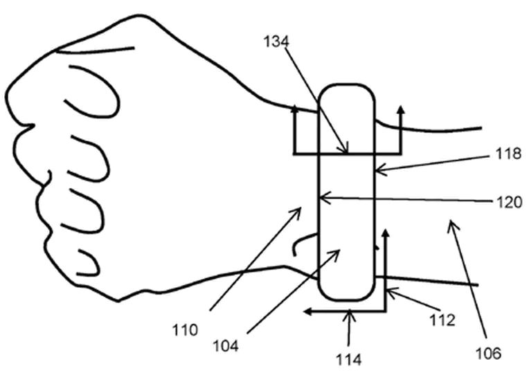
สิทธิบัตรใหม่ของ Apple แสดงให้เห็นว่า Apple Watch ในอนาคตจะติดตั้งเซ็นเซอร์สำหรับตรวจสอบความดันโลหิตของผู้สวมใส่ได้ตลอดเวลา โดยจะส่งต่อข้อมูลให้อ่านค่าได้บนจอแสดงผลของ Apple Watch หรือถ่ายโอนไปยังสมาร์ทโฟนที่เชื่อมต่อกันผ่าน Bluetooth
คาดว่า Apple Watch Series 4 จะได้รับการเปิดตัวภายในเดือนกันยายนนี้ พร้อมกับ iPhone รุ่นใหม่ และหวังว่าเราจะได้เห็นฟีเจอร์ตรวจสอบความดันโลหิตถูกติดตั้งไว้ใน Apple Watch รุ่นใหม่ด้วย
ที่มา – Phonearena
http://www.flashfly.net/wp/?p=220470








