เผยสิทธิบัตรปากกาดิจิตอลของ LG ที่ยื่นจดไว้ตั้งแต่ปี 2015 อาจนำมาใช้งานแทนสมาร์ทโฟนในอนาคต เนื่องจากมีจอแสดงผลในตัว แสดงไอคอนของฟีเจอร์โทรศัพท์ และข้อความ อีกทั้งยังซ่อนจอแสดงผลแบบม้วนได้ ไว้ในแกนปากกา
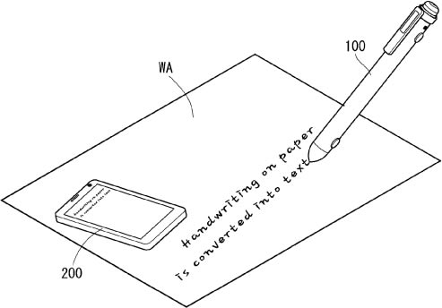
ปากกาดิจิตอลของ LG ที่อยู่ในสิทธิบัตร สามารถเขียนข้อความบนกระดาษทั่วไป เพื่อแปลงเป็นตัวอักษรดิจิตอลจัดเก็บลงสมาร์ทโฟนหรือแท็บเล็ต และสามารถใช้เป็นสไตลัสวาดเขียนลงบนจอแสดงผลของสมาร์ทโฟนหรือแท็บเล็ตได้เช่นกัน
ภายในปากกายังมากับเซ็นเซอร์ Gyro, E-compass, Proximity, Pressure, Camera, Eye-tracking และ Fingerprint ขณะที่จอแสดงผลแบบม้วนได้ก็แสดง User Interface เหมือนสมาร์ทโฟน ไม่ว่าจะเป็นไอคอนของแอพพลิเคชั่นต่างๆ รวมไปถึงเว็บเบราว์เซอร์ เครื่องเล่นเพลง แกลลอรี่ ฟีเจอร์ติดตามสุขภาพ รวมไปถึงระบบเชื่อมต่อเครือข่าย Cellular, Wi-Fi, Bluetooth นอกจากนี้ส่วนขอบของจอแสดงผลแบบม้วนได้ ก็แสดงนาฬิกา และการแจ้งเตือนได้ด้วย
อย่างไรก็ตาม ปากกาอัจฉริยะของ LG เป็นเพียงเทคโนโลยีบนแผ่นกระดาษเท่านั้น ยังไม่มีรายงานว่า LG ได้เริ่มสร้างต้นแบบไว้หรือยัง แต่ที่แน่นอนก็คือ ปากกา S Pen รุ่นใหม่ของ Samsung ที่จะมากับสมาร์ทโฟน Galaxy Note 9 จะมีความสามารถเพิ่มขึ้นกว่ารุ่นก่อน ด้วยการรองรับ Bluetooth และมีความสามารถมากกว่าแค่วาดเขียน
ที่มา – Mobielkopen
http://www.flashfly.net/wp/?p=222886

















