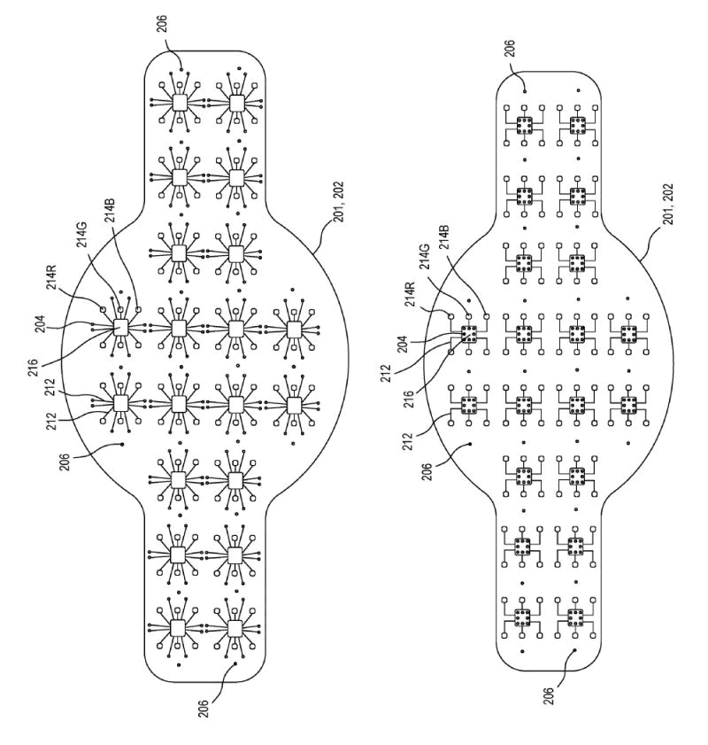
Apple ได้จดสิทธิบัตร Apple Watch ในอนาคต กับองค์การทรัพย์สินทางปัญญาแห่งโลก แสดงให้เห็นว่า Apple มีแนวคิดใช้ประโยชน์จากจอแสดงผลที่มีความยืดหยุ่นสูง มาใช้เป็นทั้งหน้าปัดและครอบคลุมไปถึงสายนาฬิกา
Apple Watch ในอนาคต จะใช้จอแสดงผล MicroLED แบบแผงเดียวเป็นทั้งหน้าปัดและสายนาฬิกา นั่นหมายถึง Apple Watch ในสิทธิบัตร จะเป็นอุปกรณ์สวมใส่ที่สามารถดัดให้โค้งงอเข้ากับข้อมือได้ และผู้ใช้งานสามารถสัมผัสกับแผงจอแสดงผลได้ทั้งหมด ไม่ว่าจะเป็นส่วนของหน้าปัดหรือส่วนที่ขยายออกมาป็นสายนาฬิกา
Apple ซื้อบริษัท LuxVue ซึ่งเป็นผู้พัฒนาจอแสดงผล MicroLED ในปี 2014 เพื่อนำมาวิจัยและพัฒนาเป็นจอแสดงผล OLED ที่มีความยืดหยุ่นสูง คาดว่าจะเตรียมไว้ใช้กับ iPhone ในอนาคตที่สามารถพับได้ และสิทธิบัตรล่าสุด ก็แสดงให้เห็นว่า Apple Watch ในอนาคต ก็จะพับหรือม้วนได้เช่นกัน
ที่มา – MacRumors
https://www.flashfly.net/wp/242351








