ถึงแม้ Apple จะยังไม่พร้อมเปิดตัว iPhone พับได้ ออกมาแข่งขันกับ Samsung และ Huawei ภายในปีนี้ แต่อย่างน้อยสิทธิบัตรต่างๆ ก็แสดงให้เห็นว่าบริษัทใหญ่จากเมืองคูเปอร์ติโน มีความมุ่งมั่นที่จะสร้างอุปกรณ์พับได้ ให้ออกมาดีที่สุด
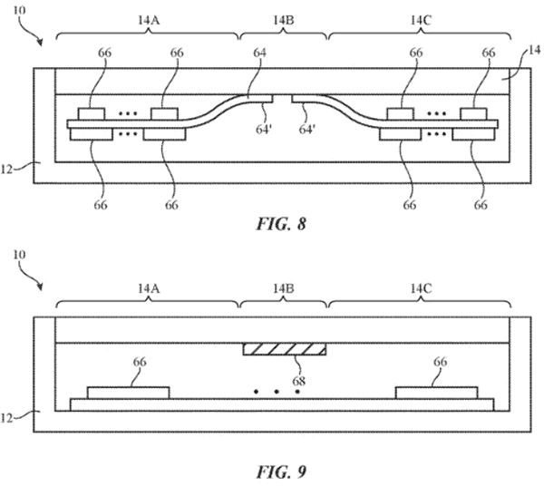
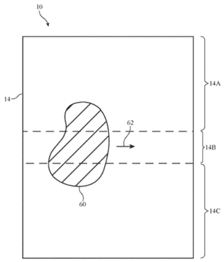
สิทธิบัตรของ Apple ที่ถูกเปิดเผยออกมาล่าสุด แสดงให้เห็นว่า Apple มองไปถึงความเสื่อมสภาพของจอแสดงผลแบบพับได้ เมื่อใช้งานไปสักระยะ โดยเฉพาะถูกใช้งานในสภาพอากาศที่หนาวเย็นเกินไป
Apple มีแนวคิดเพิ่มส่วนประกอบบางอย่างลงในแผงจอแสดงผลแบบพับได้ เพื่อเพิ่มความร้อนให้กับแผงจอแสดงผลหากพบว่ามีอุณหภูมิเย็นเกินไป และจะปรับความสว่างของจอแสดงผลโดยอัตโนมัติ เมื่อจอแสดงผลได้อุณหภูมิที่พอเหมาะ
สิทธิบัตรยังเปิดเผยว่า แผงจอแสดงผลที่มีความยืดหยุ่นนี้ จะถูกปรับให้เข้ากับตำแหน่งใหม่อย่างง่ายดาย เพื่อชะลอการเสื่อมสภาพที่อาจเกิดขึ้น
คาดว่า Apple จะเปิดตัวอุปกรณ์พับได้ อย่างเร็วที่สุด ในช่วงครึ่งหลังของปี 2020 ซึ่งมันอาจเป็นได้ทั้ง iPhone และ iPad ในเครื่องเดียว
ที่มา – Phonearena
https://www.flashfly.net/wp/243656










