สมาร์ทโฟนระดับเรือธงของ Android อย่างแบรนด์ Huawei และ OPPO มีการพัฒนากล้องที่ก้าวไปไกลกว่าผู้ผลิตรายอื่น โดยเฉพาะการวางโครงสร้างเลนส์แบบปริทรรศน์ที่อาศัยการหักเหของแสง ทำให้สมาร์ทโฟนมีความบาง โดยที่โมดูลกล้องไม่หนาจนนูนออกมาจากด้านหลัง
ขณะที่ iPhone รุ่นใหม่ล่าสุดของ Apple ได้รับการอัพเกรดระบบกล้องหลังครั้งใหญ่ แต่ก็ยังคงมีขอบกันชนที่หนาจนเห็นได้ชัด แต่ iPhone ในอนาคต จะมีขอบกันชนกล้องที่บางลง อ้างอิงจากสิทธิบัตรใหม่ล่าสุดของ Apple
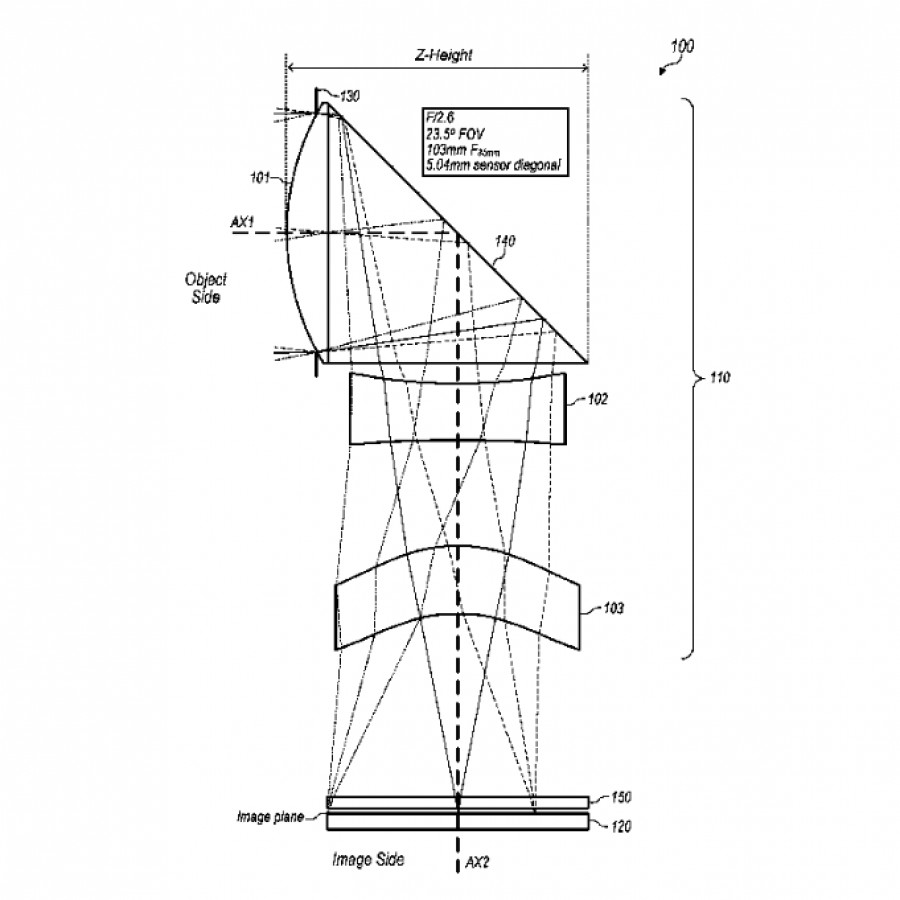
สิทธิบัตรใหม่ล่าสุดของ Apple แสดงให้เห็นว่าบริษัทใหญ่จากเมืองคูเปอร์ติโน มีแผนวางโครงสร้างเลนสืแบบปริทรรศน์เหมือนกัน โดยใช้เลนส์ 3 และ 5 ชิ้น

โครงสร้างเลนส์ 3 ชิ้น ที่ Apple ได้จดสิทธิบัตรไว้ ให้ความยาวโฟกัสระหว่าง 80 มม. และ 200 มม. (เทียบเท่า 35 มม.) และให้มุมมองกว้างระหว่าง 18 และ 28 องศา ซึ่งเหมาะสำหรับกล้องเทเลโฟโต้
ส่วนโครงสร้างเลนส์ 5 ชิ้น ให้ความยาวโฟกัสระหว่าง 50 มม. และ 85 มม. มุมมองกว้างระหว่าง 28 และ 41 องศา เหมาะหรับกล้องไวด์หรือกล้องหลัก
Samsung ก็เป็นผู้ผลิตสมาร์ทโฟนอีกราย ที่มีข่าวว่าจะนำระบบกล้องแบบปริทรรศน์ มาใช้กับสมาร์ทโฟนเรือธง Galaxy S11
ทั้งนี้ ยังไม่มีใครให้คำตอบได้ว่า Apple จะนำระบบกล้องในสิทธิบัตร มาใช้กับ iPhone ในปีหน้าเลยหรือไม่
ที่มา – Gsmarena
https://www.flashfly.net/wp/270786








