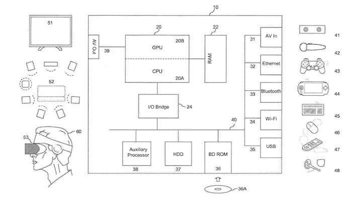
สิทธิบัตรล่าสุดของ Sony ที่ได้รับการเผยแพร่เมื่อวันที่ 20 สิงหาคมที่ผ่านมา แสดงให้เห็นอุปกรณ์ต่อพ่วงต่างๆ ที่เข้ากันได้กับคอนโซลรุ่นใหม่ PlayStation 5 ไม่ว่าจะเป็น PlayStation VR, PlayStation Camera, PlayStation Move, DualShock 4, Mouse, Keyboard, Remote, Bluetooth Headset และ PlayStation Portable นอกจาก PSP สิทธิบัตรดังกล่าวยังรวมถึง PlayStation Vita ด้วย

นั่นหมายความว่า PSP และ PS Vita มีความเป็นไปได้ที่จะเล่นเกมบน PlayStation 5 จากระยะไกล คล้ายกับ Nintendo Wii U อย่างไรก็ตาม Sony ได้ประกาศยกเลิก PS Vita ในปี 2019 จึงเป็นเรื่องแปลกที่จะรวมฟังก์ชั่นการเล่นระยะไกลด้วย PS Vita สำหรับเกมในระบบ PlayStation 5 อีกทั้ง Sony ยังได้ประกาศว่า เกมของ PlayStation 5 จำเป็นต้องใช้คอนโทรลเลอร์รุ่นใหม่ DualSense ดังนั้น การเล่นเกมจากระยะไกล อาจใช้ไม่ได้กับเกมใหม่ๆ ที่ออกแบบมาสำหรับ PlayStation 5 แต่ยังมีความเป็นไปได้ที่จะรองรับเกมเก่าๆ ในระบบ PlayStation 4 ที่คอนโซลรุ่นใหม่รองรับ

ที่มา – Gamerant
https://www.flashfly.net/wp/313268






