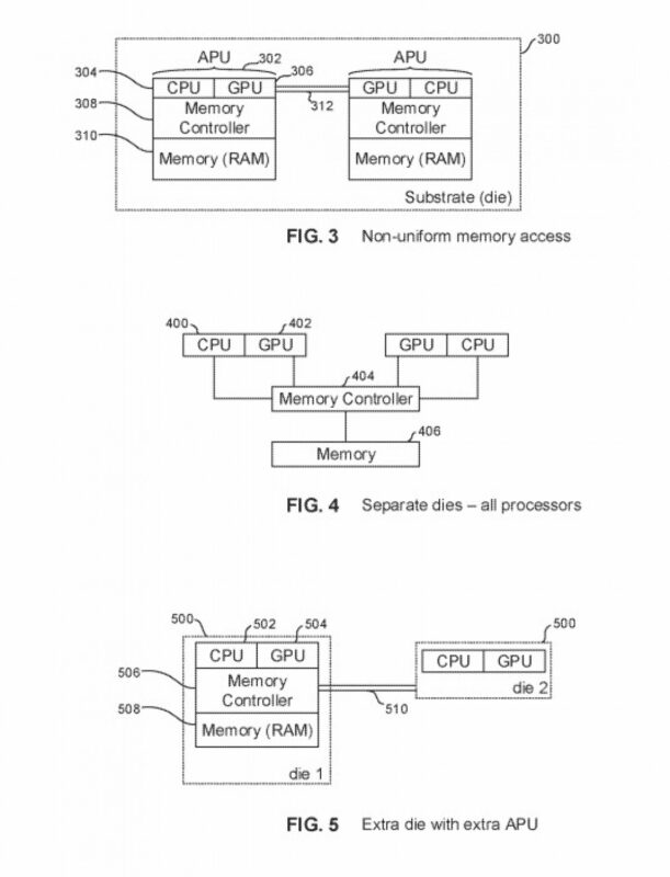
Sony ถูกพบว่ามีการจดสิทธิบัตรเกี่ยวกับเกมคอนโซล ตั้งแต่เดือนมกราคม 2019 ก่อนจะได้รับการอนุมัติเมื่อเดือนกรกฎาคมที่ผ่านมา แสดงให้เห็นการออกแบบคอนโซลที่มาพร้อมการตั้งค่า GPU แบบคู่ คล้ายกับคอมพิวเตอร์บางรุ่นที่มี GPU ทั้ง Nvidia SLI และ AMD CrossFire แต่ GPU แบบคู่ ตามสิทธิบัตรของ Sony มีความซับซ้อนมากกว่า

สิทธิบัตรของ Sony ให้รายละเอียดเกี่ยวกับวิธีการทำงานของ GPU แบบคู่ เพื่อแสดงการจำลองแบบเฟรมเดียว หรือ แยกออกเป็น 2 เฟรม เพื่อป้อนไปยัง GPU ทั้ง 2 ตัว แต่จะมี GPU เพียงตัวเดียวเท่านั้นที่ควบคุมเอาต์พุตของ HDMI และต้องใช้ GPU ที่จัดการเอาต์พุตวิดีโอเพื่ออ่านเฟรมจากอีกอันหนึ่ง
ในสิทธิบัตรยังมีการอ้างถึงคอนโซลอีกตังเลือกที่มีขนาดพื้นที่และความจำใหญ่กว่า ซึ่งบ่งชี้ว่า Sony อาจมีแผนเปิดตัว PlayStation 5 Pro ในอนาคต ซึ่งจะมอบประสบการณ์การใช้งานด้าน VR รวมไปถึงการเล่นเกม 4K @ 120fps ที่มีคุณภาพสูงขึ้น

นอกจากนี้ สิทธิบัตรของ Sony ยังมีการอธิบายถึงระบบ Cloud Gaming หรือ การเล่นเกมบนคลาวด์ ซึ่งต้องใช้อุปกรณ์เพิ่มเติมที่มีเซ็นเซอร์อย่าง NFC, GPS, IR blaster, Biosensors และเซ็นเซอร์อื่นๆ เพื่อเชื่อมโยงกับคอนโซล แต่ยังไม่มีความชัดเจนว่าเซ็นเซอร์ต่างๆ จะช่วยให้ประสบการณ์ในการเล่นเกมบนคลาวด์ดีขึ้นได้อย่างไร
ทั้งนี้ Sony เปิดตัว PlayStation 4 Pro ออกมาหลังจาก PlayStation 4 ทำตลาดไปแล้ว 3 ปี ดังนั้น จึงสามารถทำนายได้ว่า PlayStation 5 Pro จะไม่เปิดตัวจนกว่าจะถึงปี 2023

ที่มา – Gsmarena
https://www.flashfly.net/wp/324477





