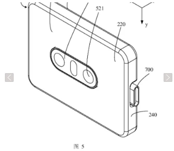
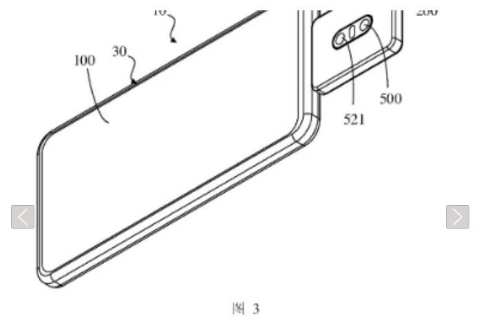
สิทธิบัตรล่าสุดของ OPPO ที่ยื่นจดไว้กับทาง WIPO (องค์การทรัพย์สินทางปัญญาแห่งโลก) แสดงให้เห็นแนวคิดการออกแบบสมาร์ทโฟน ที่มาพร้อมโมดูลกล้องแยกส่วนได้ เพิ่มความอิสระให้กับผู้ใช้งานโดยสามารถถอดโมดูลกล้อง เพื่อใช้ถ่ายภาพในมุมแคบที่ไม่อาจยื่นสมาร์ทโฟนเข้าไปได้ทั้งเครื่อง หรือ ใช้ถ่ายภาพในสถานการณ์อื่นๆ

โมดูลกล้องถูกออกแบบมาให้เชื่อมต่อกับสมาร์ทโฟนได้ทั้ง USB Type-C, NFC, Wi-Fi และ Bluetooth ซึ่งแน่นอนว่ามีแบตเตอรี่ในตัว เพื่อให้ทำงานได้อิสระจากสมาร์ทโฟน

เมื่อโมดูลกล้องรองรับการเชื่อมต่อ Wi-Fi และ Bluetooth จึงรองรับการถ่ายภาพจากระยะไกล เช่น วางโมดูลกล้องไว้จุดหนึ่ง แล้วสั่งถ่ายภาพจากสมาร์ทโฟนที่อยู่ห่างออกไป ซึ่งจะช่วยให้ผู้ใช้งานได้ภาพเซลฟี่ในมุมกว้างยิ่งขึ้น

นอกจากนี้ สมาร์ทโฟน ที่มาพร้อมโมดูลกล้องแยกส่วนได้ ยังทำให้เกิดความเป็นไปได้ในการพัฒนาโมดูลกล้องออกมาให้เลือกเปลี่ยนได้หลายแบบตามฟังก์ชั่นการใช้งานที่ต้องการ


ที่มา – 91Mobiles
https://www.flashfly.net/wp/324516






