อย่างที่ผู้ใช้งาน iPhone และ iPad ทุกคนทราบว่าสายชาร์จ Lightning ของ Apple นั้นมีความเปราะบางและพังง่ายพอสมควร แต่ Apple ก็ได้มีวิธีการที่จะแก้ไขปัญหาสายชาร์จเปราะบางนี้ได้แล้ว

Apple ได้จดสิทธิบัตรสายชาร์จที่ใช้ชื่อว่า Cable with Variable Stiffness หรือสายที่มีความแข็งหลายระดับ โดยสายชาร์จ Lightning เดิมของ Apple นั้นมีจุดที่พังง่ายอยู่แถวช่วงข้อต่อด้านปลาย ทำให้ผู้ใช้งานหลายคนต้องซื้อที่ถนอมสายชาร์จมาใส่เพิ่มเติม
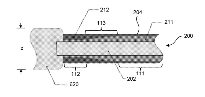
สายชาร์จใหม่จะมีประสิทธิภาพยืดหยุ่นหักงอได้มากขึ้นอีกทั้งยังจะเพิ่มความหนาตรงส่วนของข้อต่อด้านปลายทำให้แข็งแรงไม่เปราะง่ายอีกด้วย แต่การที่ Apple ได้เพิ่มความหนาของสายมากยิ่งขึ้นจะทำให้เสียบชาร์จบนเคสหรืออุปกรณ์เสริมไม่ได้ เนื่องด้วยอุปกรณ์เสริมบางชิ้นอาจจะทำช่องมาพอดีกับสายชาร์จแบบเก่าแล้ว

ดังนั้น Apple จึงได้แก้ไขด้วยการเพิ่มความแข็งแรงของสายหุ้มเฉพาะตำแหน่ง บริเวณที่ใกล้กับหัวชาร์จจะมีความแข็งแรงเป็นพิเศษและจะไล่ระดับความแข็งแรงลงมาเพื่อกระจายแรงการบิดงอไปทั่วทั้งสายแทนที่จะมีความเสียหายกระจุกที่จุดเดียว
ที่มา – Apple Insider






