อ้างอิงจากสิทธิบัตร Apple กำลังวิจัยอุปกรณ์สวมนิ้วที่จะมีเซนเซอร์และระบบสั่น Haptic ที่จะใช้ร่วมกับ AR/VR Headset เพื่อควบคุมผ่านนิ้วมือแต่ละนิ้วได้

สิทธิบัตรนี้ถูกจดที่กรมทัพย์สินทางปัญญาประเทศอเมริกา อธิบายเอาไว้ว่าจะทำให้ควบคุมอุปกรณ์ AR/VR แบบไร้สายได้ โดยสิทธิบัตรนี้ก็ทำให้ข่าวลือเรื่อง Apple VR นั้นมีมูลมากยิ่งขึ้น เนื่องด้วย Apple กำลังวิจัยพัฒนาอุปกรณ์ควบคุมที่ “ลักษณะคล้ายๆ กับที่สวมนิ้ว”


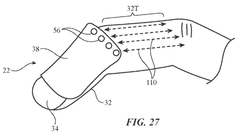
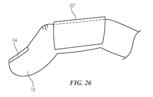
Apple รับรู้ว่าอุปกรณ์ควบคุม AR/VR แบบถุงมือนั้นมีข้อดีที่สามารถตรวจจับการเคลื่อนไหวของมือได้ดี แต่อุปกรณ์แบบสวมนิ้วมือนี้ก็มีข้อดีที่จะทำให้มีความสบายขณะสวมใส่ โดยภายในตัวปลอกจะมีแม่เหล็กที่จะตรึงเข้ากับนิ้วไม่ให้หลุด แต่ไม่แน่ว่าวัสดุนี้อาจจะเป็นโพลีเมอร์ไม่ก็ผ้าแทน

โดยอุปกรณ์นี้เวลาสวมใส่จะเผยปลายนิ้วทำให้ยังสัมผัสกับพื้นผิวและสิ่งของได้ตามปกติ ทำให้ความรู้สึกขณะสัมผัสนั้นไม่ผิดเพี้ยน โดยในอุปกรณ์นี้จะมีเซนเซอร์ตรวจจับความแรงในการกด, ตัววัดความเร็ว, ไจโรสโคป, ออปติคอล, ไฟแสดงสถานะ, เซนเซอร์ระบบสัมผัสและอีกมากมายที่ใช้ตรวจจับการเคลื่อนไหวของนิ้วมือได้อย่างละเอียดมากที่สุด รวมถึงความแรงในการบีบ, กด, สัมผัส อีกด้วยโดยจะมีระบบ Haptic สั่นเพื่อเพิ่มการตอบสนองกลับมายังผู้ใช้งานเมื่อได้กด, ปรับบางสิ่งเหมือนบน Apple Watch

อุปกรณ์นี้อาจจะทำให้ผู้ใช้งานนั้นใช้คีย์บอร์ดและจำลองการใช้งานจอยคอนโทรลเลอร์เกมบนผืนผิวที่ไหนก็ได้จากการตรวจจับการเคลื่อนไหวของมือผ่านเซนเซอร์ที่ได้กล่าวถึงไป โดยการใช้งานนี้จะต้องสวมใส่อุปกรณ์มากกว่า 1 นิ้ว

สำหรับการจดสิทธิบัตรนั้นก็ไม่ใช่การการันตรีว่าอุปกรณ์ชิ้นนั้นจะได้นำออกมาลงตลาด แต่เป็นการรับข่าวสารและติดตามว่าขณะนี้ Apple นั้นจะพัฒนาไปในทิศทางใดกับอนาคตของ VR/AR
ที่มา – macrumors






