Apple ถูกอ้างว่ากำลังวิจัยและพัฒนา Apple Watch ดีไซน์ใหม่ ที่มีหน้าปัดโค้งมน ใช้จอแสดงผลที่ยืดหยุ่นได้ สามารถโค้งรับข้อมือ อ้างอิงจากสิทธิบัตรฉบับใหม่ที่ Apple จดไว้กับสำนักงานสิทธิบัตรและเครื่องหมายการค้าของสหรัฐอเมริกา ในชื่อ Display Module and System Applications

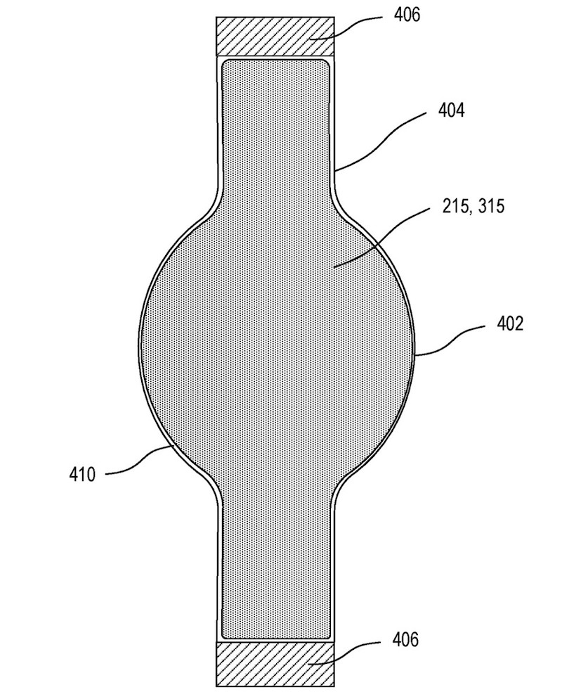
สิทธิบัตรดังกล่าว แสดงให้เห็นการออกแบบ Apple Watch ในอนาคตที่มาพร้อมจอแสดงผลแบบยืดหยุ่น เพื่อให้โค้งงอเข้ากับข้อมือของผู้สวมใส่ได้ เนื่องจากพื้นที่ของจอแสดงผลจะต้องครอบคลุมทั้งหน้าปัดและสายนาฬิกา

การใช้จอแสดงผล OLED แบบใหม่กับ Apple Watch ในสิทธิบัตร ทำให้มีพื้นที่ขอบจอบางเฉียบ แต่ Apple ระบุว่าสามารถทำให้ขอบหน้าปัดแคบลงได้หลายขนาด ไม่ว่าจะต่ำกว่า 4 – 5 มม. น้อยกว่า 1 มม. หรือน้อยกว่า 0.5 มม. หรือจะกำจัดขอบขอออกทั้งหมดก็ทำได้ หากทำให้ภาพลักษณ์โดยรวมสวยงามขึ้น

Apple Watch ในสิทธิบัตร ยังสามารถปรับแต่งสายนาฬิกาได้ตามความชอบของผู้ใช้งาน เนื่องจากบางส่วนของจอแสดงผลครอบคลุมพื้นที่มาถึงสายนาฬิกา และมีตัวเลือกให้ผู้ใช้งานปรับแต่งได้โดยตรงจาก Apple Watch หรือทำผ่าน iPhone ที่จับคู่กัน

อย่างไรก็ตาม ข้อมูลทั้งหมดนี้ยังอยู่ในสิทธิบัตรเท่านั้น ยังไม่มีรายงานที่ชัดเจนว่า Apple เริ่มสร้างต้นแบบออกมาหรือยัง และจะพร้อมเปิดตัวทางการในช่วงเวลาใด

ที่มา – MacRumors






