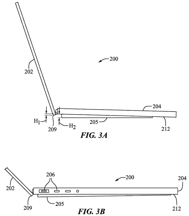
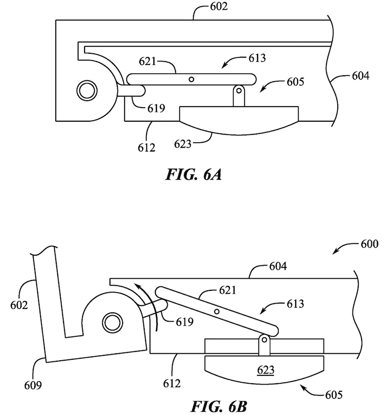
Apple จดสิทธิบัตรชื่อ Deployable Feet for Display Articulation and Thermals Performance แสดงให้เห็นถึงการออกแบบขาตั้งให้กับ MacBook Pro เพื่อช่วยยกส่วนฐานให้ลอยขึ้นจากพื้นได้ 3.8 มิลลิเมตร ช่วยเพิ่มการไหลเวียนของอากาศใต้เครื่อง

ขาตั้งแบบ Deployable Feet ในสิทธิบัตร สามารถทำงานผสานกับบานพับได้ หมายถึง เมื่อกางฝาหรือส่วนของจอแสดงผลออกกว้างเท่าไร ก็จะส่งผลกับความสูงของขาตั้งด้วย และยังสามารถควบคุมขาตั้งผ่านทางซอฟต์แวร์ได้ เมื่อขาตั้งอยู่ในตำแหน่งที่เหมาะสม Mac จะได้รับอนุญาตให้มีความร้อนเพิ่มขึ้น เพื่อให้ประสิทธิภาพที่สูงขึ้น โดยใช้การไหลเวียนของอากาศใต้เครื่องมาช่วยระบายความร้อน ทำงานร่วมกับพัดลมภายใน



อย่างไรก็ตาม ยังไม่มีรายงานว่า Apple จะพร้อมนำขาตั้งแบบ Deployable Feet มาใช้กับ MacBook Pro ในช่วงเวลาใด เนื่องจากยังเป็นเทคโนโลยีที่อยู่ในสิทธิบัตรเท่านั้น
ที่มา – MacRumors






