สมาร์ทโฟนในปัจจุบันใช้แผงกระจกด้านหน้าในการทำหน้าที่ปกป้องหน้าจอด้านในจากแรงกระแทกและรอยขีดข่วน แต่นอกจากนี้ ยังใช้เป็นตัวบ่งบอกถึงดีไซน์ด้านหน้าของอุปกรณ์ด้วย โดยเฉพาะสมาร์ทโฟนระดับเรือธง ที่นิยมใช้กระจกขอบโค้ง อย่างไรก็ตาม เทคโนโลยีในปัจจุบันนี้ ยังไม่สามารถทำให้แผงกระจกบางลง และรักษาความแข็งแรงได้เท่าที่ควร

เพื่อทำให้ iPhone ในอนาคตมีจอแสดงผลบางลงยิ่งขึ้น Apple ต้องพยายามคิดค้นเทคนิคใหม่ที่จะชนะเทคโนโลยีในปัจจุบัน และได่้จดสิทธิบัตรแล้วเรียบร้อยในชื่อ Insert molding around glass members for portable electronic devices
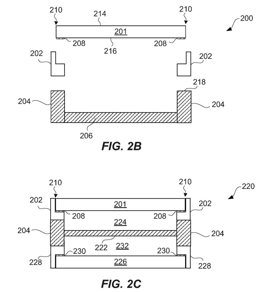
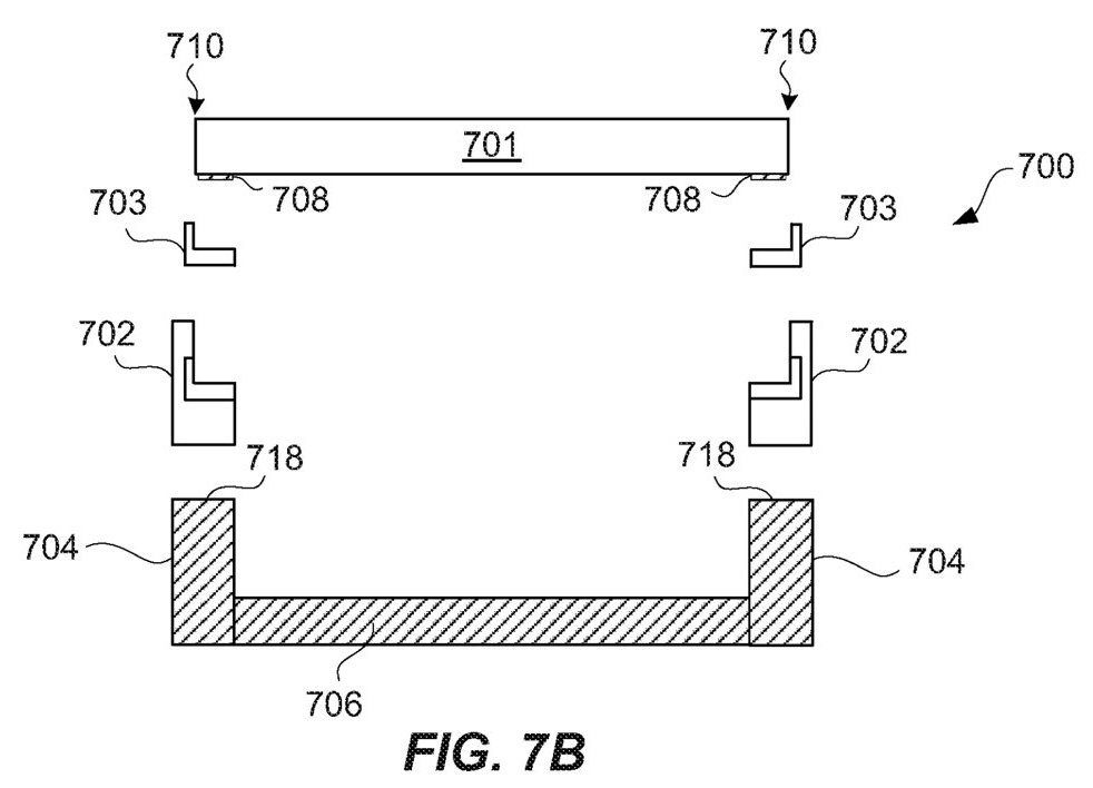
สิทธิบัตรล่าสุดของ Apple อธิบายถึงการออกแบบแผงกระจก Glass Cover แบบเดียวกับกระจกโค้งในปัจจุบัน แต่สามารถทำให้บางลงกว่าเดิมทั่วทั้งแผ่น เพื่อทำให้แผงกระจกบางลง Apple เลือกใช้วิธีเพิ่มโครงสร้างกระจกไว้รอบๆ ขอบ Glass Cover และอยู่ตรงกลางระหว่างโครงเครื่องหลักกับ Glass Cover
นอกจากนี้ โครงสร้างกระจกใหม่ของ Apple ยังได้รับการพัฒนาให้มีความแข็งแรงมากขึ้น โดยใช้วัสดุกระจกที่แตกต่างกันเพิ่มความแข็งแรงและความบาง ตัวอย่างเช่นการเคลือบกระจก Ceramic Shield ที่ทำให้ iPhone 12 มีความแข็งแรงมากกว่ารุ่นก่อนถึง 4 เท่า
AppleInsider เชื่อว่าโครงสร้างกระจกใหม่ของ Apple ในสิทธิบัตร อาจนำไปสู่การออกแบบ iPhone ที่ใช้แผงกระจกรอบตัวเครื่อง หรือ ใช้กับ iPhone พับได้ รวมถึงมีความเป็นไปได้ที่จะสร้างกระจกแผ่นใหญ่มาใช้กับ iMac ในอนาคต


ที่มา – AppleInsider






