ข่าวลือก่อนหน้านี้ อ้างว่า Samsung จะเปิดตัวสมาร์ตโฟนจอพับได้แบบ 3 ทบ ภายในปีนี้ และล่าสุดบริษัทใหญ่ของเกาหลีใต้ได้จดสิทธิบัตรใหม่ ที่เผยให้เห็นว่า Samsung กำลังพัฒนาสมาร์ตโฟนจอพับได้แบบ 4 ทบ

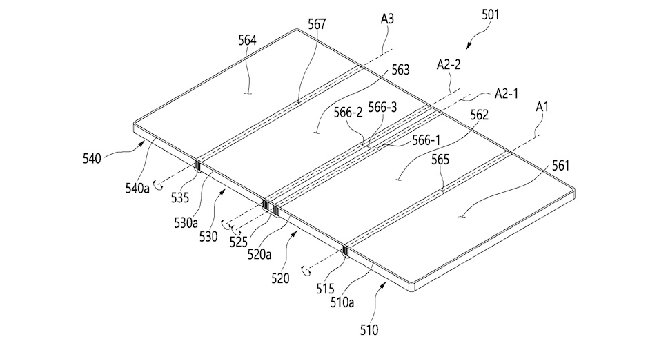
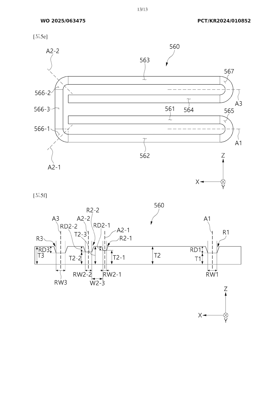
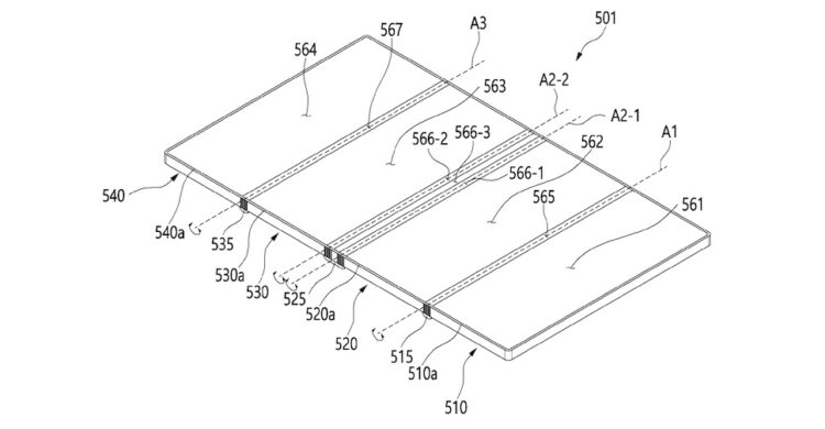
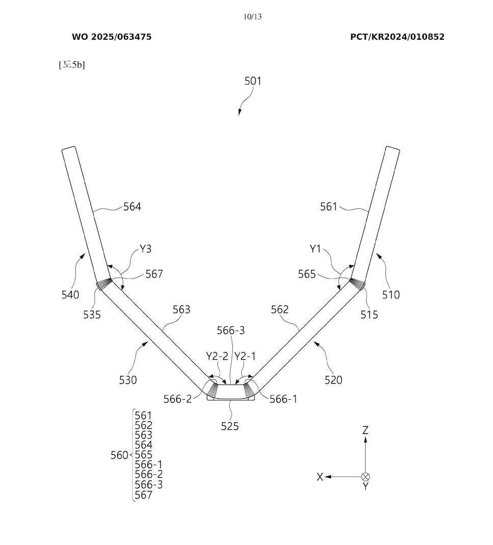
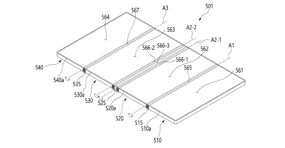
สิทธิบัตรใหม่ของ Samsung มีชื่อว่า ELECTRONIC DEVICE INCLUDING BENDABLE DISPLAY แสดงให้เห็นแนวคิดในการออกแบบอุปกรณ์จอพับได้ที่มาพร้อมจอแสดงผลแบบยืดหยุ่นสูง สามารถโค้งงอหรือพับได้ 4 ทบ ซึ่งจำเป็นต้องใช้ 3 บานพับ

เนื่องจากสิทธิบัตรแสดงให้เห็นเฉพาะการออกแบบ จึงไม่มีรายละเอียดทางเทคนิค แต่เห็นได้อย่างชัดเจนว่า Samsung กำลังพัฒนาสมาร์ตโฟนจอพับได้แบบ 4 ทบ โดยใช้วิธีพับหน้าจอเข้าด้านใน ทำให้มีความหนากว่า Galaxy Z Fold6 ในปัจจุบัน ข้อดีก็คือ เมื่อกางออกจะมีจอแสดงผลขนาดใหญ่กว่า ซึ่งบางทีอาจเปิดตัวในฐานะแล็ปท็อปก็เป็นได้



ที่มา – SamMobile






