หลังจากบุกเบิกสมาร์ทโฟนจอพับได้ Samsung ก็กำลังพัฒนาสมาร์ทโฟนที่ใช้จอแสดงผลแบบม้วนได้ ซึ่งได้จดสิทธิบัตรไว้แล้วกับทางสำนักงานสิทธิบัตรและเครื่องหมายการค้าของสหรัฐอเมริกา

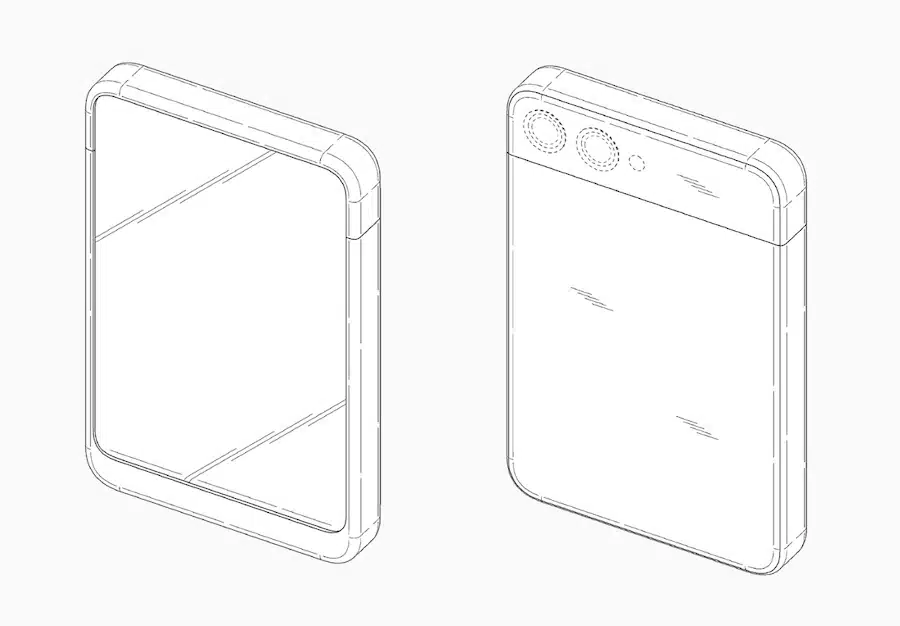
สิทธิบัตรสมาร์ทโฟนจอม้วนที่ Samsung ได้รับเมื่อวันที่ 15 เมษายนที่ผ่านมา แสดงให้เห็นการออกแบบสมาร์ทโฟนที่มีขนาดกะทัดรัด ดูแล้วสามารถพกพาไว้ในกระเป๋าได้อย่างสะดวกไม่ต่างจาก Galaxy Z Flip ในปัจจุบัน แต่ความพิเศษก็คือสามารถยืดจอแสดงผลได้ แทนที่จะพับหรือกางออก

เพื่อให้เห็นภาพที่ชัดเจน DomoAI ร่วมกับ David Kowalski นำภาพร่างในสิทธิบัตร มาสร้างเป็นคอนเซ็ปต์ให้ชมกัน ซึ่งจะเห็นว่าสมาร์ทโฟนจอม้วนได้ของ Samsung มาพร้อมกล้องหลัง 2 ตาม ตามสิทธิบัตร แต่น่าเสียดายที่เราไม่เห็นภาพหลังจากจอแสดงผลถูกยืดขึ้น






