สำนักงานสิทธิบัตรและเครื่องหมายการค้าของสหรัฐอเมริกา มอบสิทธิบัตรใหม่ให้กับ Samsung หลังจากยื่นจดเมื่อเดือนธันวาคมปีที่แล้ว โดยเอกสารตามสิทธิบัตรได้อธิบายถึงเคสที่ทำหน้าที่มากกว่าปกป้องสมาร์ทโฟน แต่สามารถชาร์จแบตเตอรี่ให้กับ Smartwatch ได้อีกด้วย
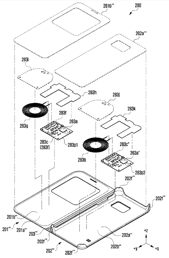
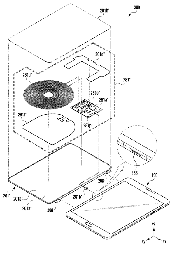
เคสพิเศษนี้ประกอบด้วยเทคโนโลยี Millimeter Wave ซึ่งให้คลื่นความถี่สูง สำหรับถ่ายเทพลังงานและข้อมูล ทำให้เคสสามารถชาร์จแบตเตอรี่ให้กับ Smartwatch ในรูปแบบไร้สาย เพียงวางนาฬิกาลงบนปกเคส ไม่เพียงแค่นั้น ยังสามารถพัฒนาให้เคสสามารถควบคุมและถ่ายโอนข้อมูลกับ Smartwatch ได้ด้วย ช่วยให้ผู้ใช้งานดูข้อมูลหรือจัดการ Smartwatch ได้ทันทีผ่านสมาร์ทโฟน
สิทธิบัตรเคสสมาร์ทโฟนของ Samsung ได้แสดงให้เห็นว่ามีการติดตั้งขดลวดไว้ภายใน ซึ่งทำหน้าที่จ่ายไฟให้กับ Smartwatch ขณะเดียวกันเคสยังมีขั้วต่อ USB-C เพื่อเสียบกับสมาร์ทโฟนด้วย ด้านหน้าปกเคสมีโปรเซสเซอร์สำหรับควบคุมพลังงานแบบไร้สาย และชุดแปลงกระแสไฟฟ้าจากแบตเตอรี่ DC เป็น AC
ที่มา – SamMobile
http://www.flashfly.net/wp/?p=185859










