Apple ถูกเปิดเผยสิทธิบัตรจอแสดงผลพับได้ออกมาอีกครั้ง ซึ่งได้ยื่นจดไว้ในปี 2011 ก่อนจะได้รับการปรับปรุงในปี 2016 แสดงให้เห็นว่า Apple สนใจพัฒนาอุปกรณ์พับได้มานานหลายปีแล้ว และดีไซน์ในสิทธิบัตร อาจชี้ให้เห็นภาพร่างของ iPhone หรือ iPad ในอนาคต
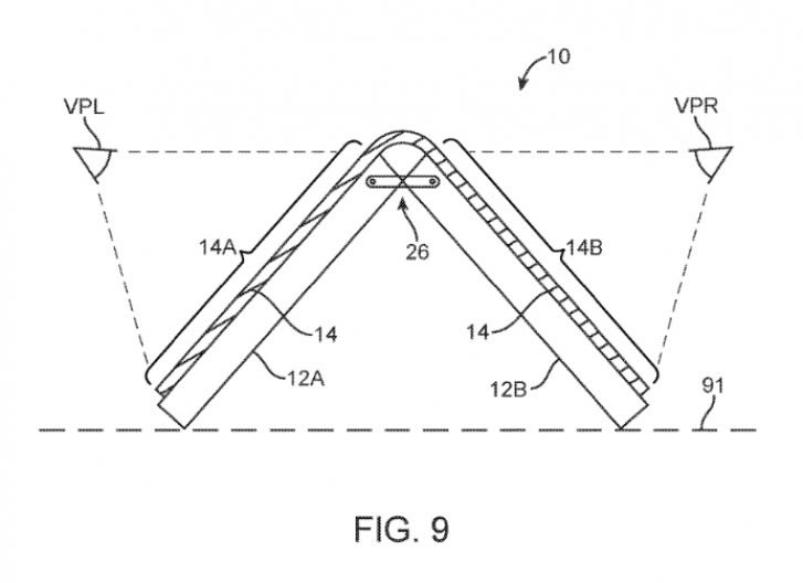
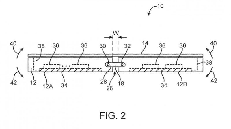
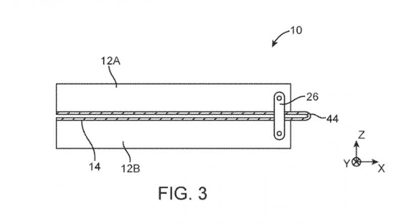
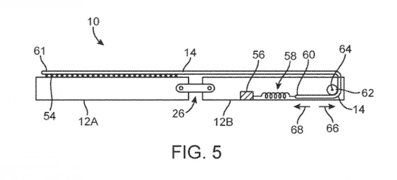
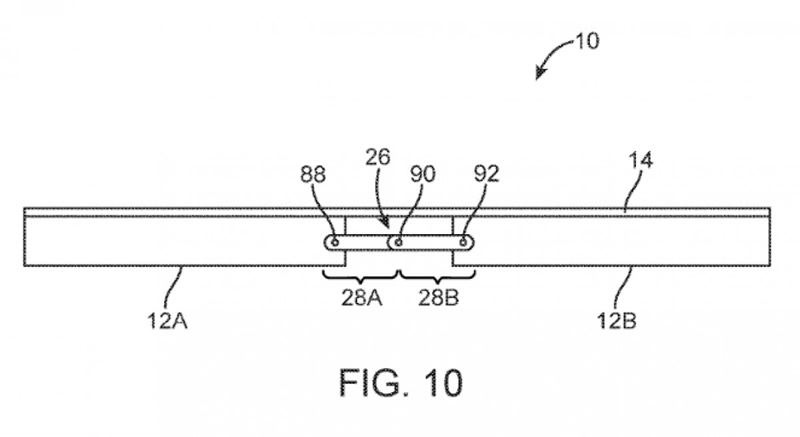
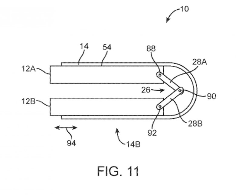
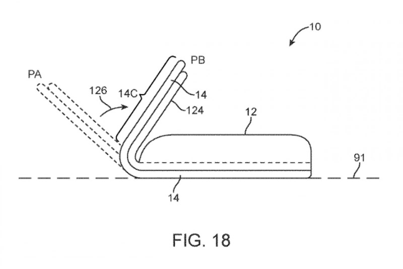
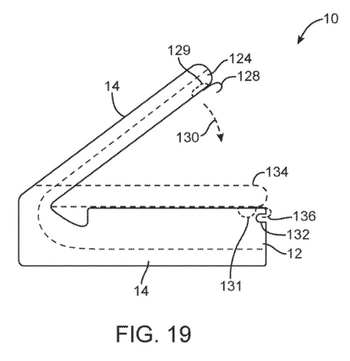
หนึ่งในอุปกรณ์พับได้ของ Apple ที่ถูกรวบรวมไว้ในสิทธิบัตร แสดงให้เห็นการออกแบบ iPhone หรือ iPad ที่สามารถพับได้สองส่วน แต่สามารถพับอุปกรณ์เข้ามาหรือกางออกไปได้ถึง 360 องศา
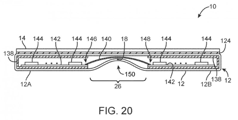
นอกจากนี้ Apple ยังมีแนวคิดพัฒนา iPhone หรือ iPad ที่สามารถพับได้สามส่วน รวมไปถึงการออกแบบให้จอแสดงผลม้วนหรือพับเก็บไว้ในอุปกรณ์ได้ด้วย โดยทั้งหมดจะใช้ประโยชน์จากจอแสดงผล OLED ที่มีความยืดหยุ่นสูง
ยังไม่มีความชัดเจนว่า Apple จะพร้อมเปิดตัวอุปกรณ์พับได้ในช่วงเวลาใด แต่ในอนาคตอันใกล้นี้ เราจะได้เห็นอุปกรณ์พับได้จาก Samsung และ Huawei อย่างแน่นอน รวมไปถึง LG, Xiaomi และ Motorola ก็อาจกระโดดเข้ามาขอส่วนแบ่งตลาดในกลุ่มนี้ด้วย
ที่มา – CNET
https://www.flashfly.net/wp/242376


























