สิทธิบัตรฉบับล่าสุดของ Apple ที่ยื่นต่อสำนักงานสิทธิบัตรและเครื่องหมายการค้าของสหรัฐอเมริกา มีชื่อว่า “Electronic devices having keys with coherent fiber bundles” อธิบายถึง ปุ่มคีย์บอร์ดที่มีจอแสดงผลในตัว สามารถเปลี่ยนตัวอักษรบนปุ่มได้ตามต้องการ

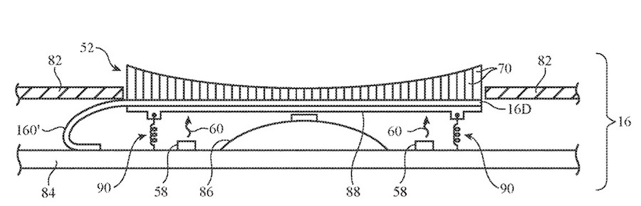
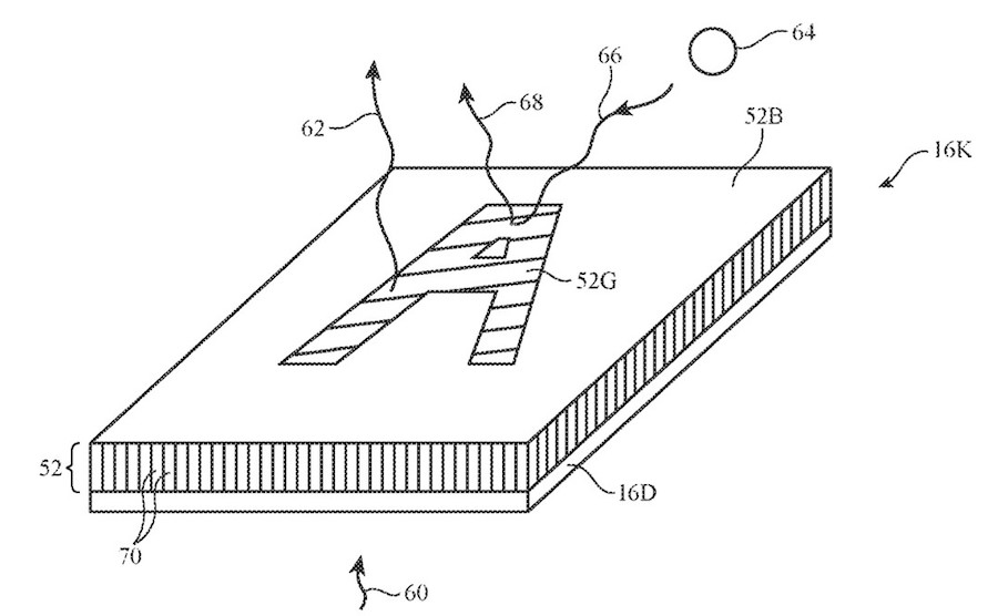
สิทธิบัตรดังกล่าวอธิบายว่า ปุ่มบนแผงคีย์บอร์ดแต่ละปุ่มสำหรับ Mac ในอนาคต (ทั้งแล็ปท็อปและเดสก์ท็อป) จะมาพร้อมจอแสดงผล OLED ในตัว เพื่อแสดงตัวอักษรบนปุ่ม และสามารถปรับแต่งได้ตามต้องการหรือเปลี่ยนแปลงโดยอัตโนมัติ

หมายความว่าผู้ใช้งาน Mac ในอนาคต จะสามารถกำหนดค่าแต่ละหุ่มได้ตามต้องการ ไม่ว่าจะเปลี่ยนภาษา หรือ แสดงปุ่มสำหรับเล่นเกมโดยเฉพาะ รวมไปถึงแสดงตัวอักษรตัวพิมพ์ใหญ่หรือตัวพิมพ์เล็ก

ปุ่มคีย์บอร์ดในสิทธิบัตร สามารถใช้ได้กับวัสดุที่หลากหลาย ไม่ว่าจะเป็น แก้ว, เซรามิก, โลหะ, โพลิเมอร์ หรือแม้แต่วัสดุที่เป็นผลึกอย่าง แซฟไฟร์ นอกจากนี้ ระบบจอแสดงผลบนปุ่มกด ยังไม่รบกวนการทำงานของโดมหรือสวิตช์ในแต่ละปุ่มด้วย

อย่างไรก็ตาม การที่ Apple จดสิทธิบัตรไว้ ไม่ได้การันตีว่า Apple จะผลิตออกมาในเร็วๆ นี้ แต่ก็มีโอกาสเกิดขึ้นในอนาคต
ที่มา – MacRumors
https://www.flashfly.net/wp/326956






